Partiron

Honda SXS1000M5DAC (16) PIONEER 1000-5 DELUXE, USA, VIN# 1HFVE04J-G4000001 HEADLIGHT (SXS1000M5D) Diagram

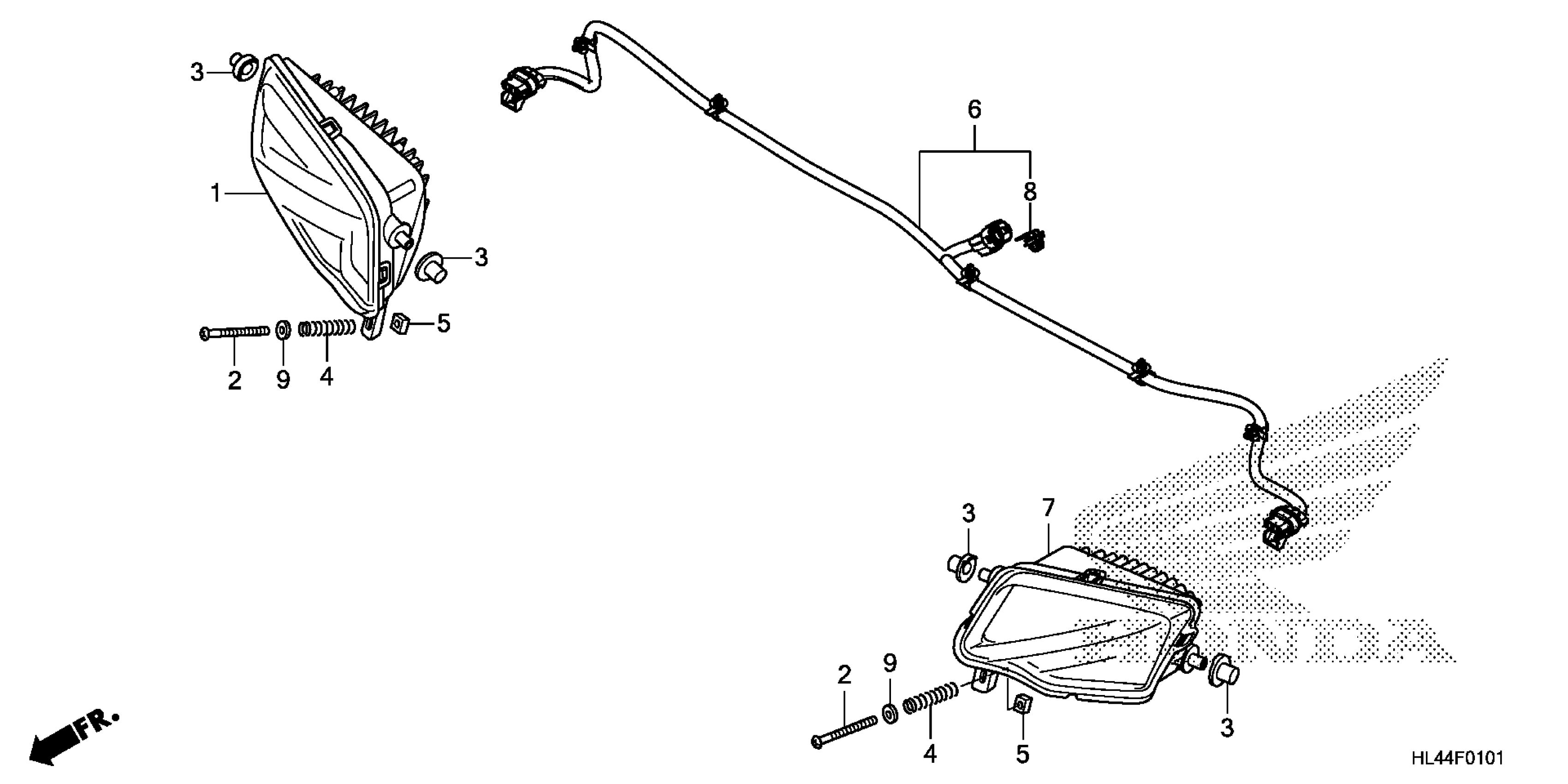
#

Description
Price

1

HEADLIGHT ASSY., R. (LED) This part replaces 33100-HL4-A11.

33100-HL6-A41

$235.57

2

SCREW, PAN (4X55)

33103-KSC-670

$1.49

3

CAP, HEADLIGHT

33106-HL4-A10

$1.98

4

SPRING, BEAM ADJUSTING

33107-KAE-771

$2.64

5

NUT, BEAM ADJUSTING

33117-KBR-730

$2.92

6

SUB-HARNESS, HEADLIGHT

33130-HL4-A10

$89.62

7

HEADLIGHT ASSY., L. (LED) This part replaces 33150-HL4-A11.

33150-HL6-A41

$235.57

8

CLIP, CONNECTOR (BLACK) (Honda Code 7386865)

91565-SEL-003

$3.67

9

WASHER, PLAIN (4MM)

94101-04700

$1.49