Partiron

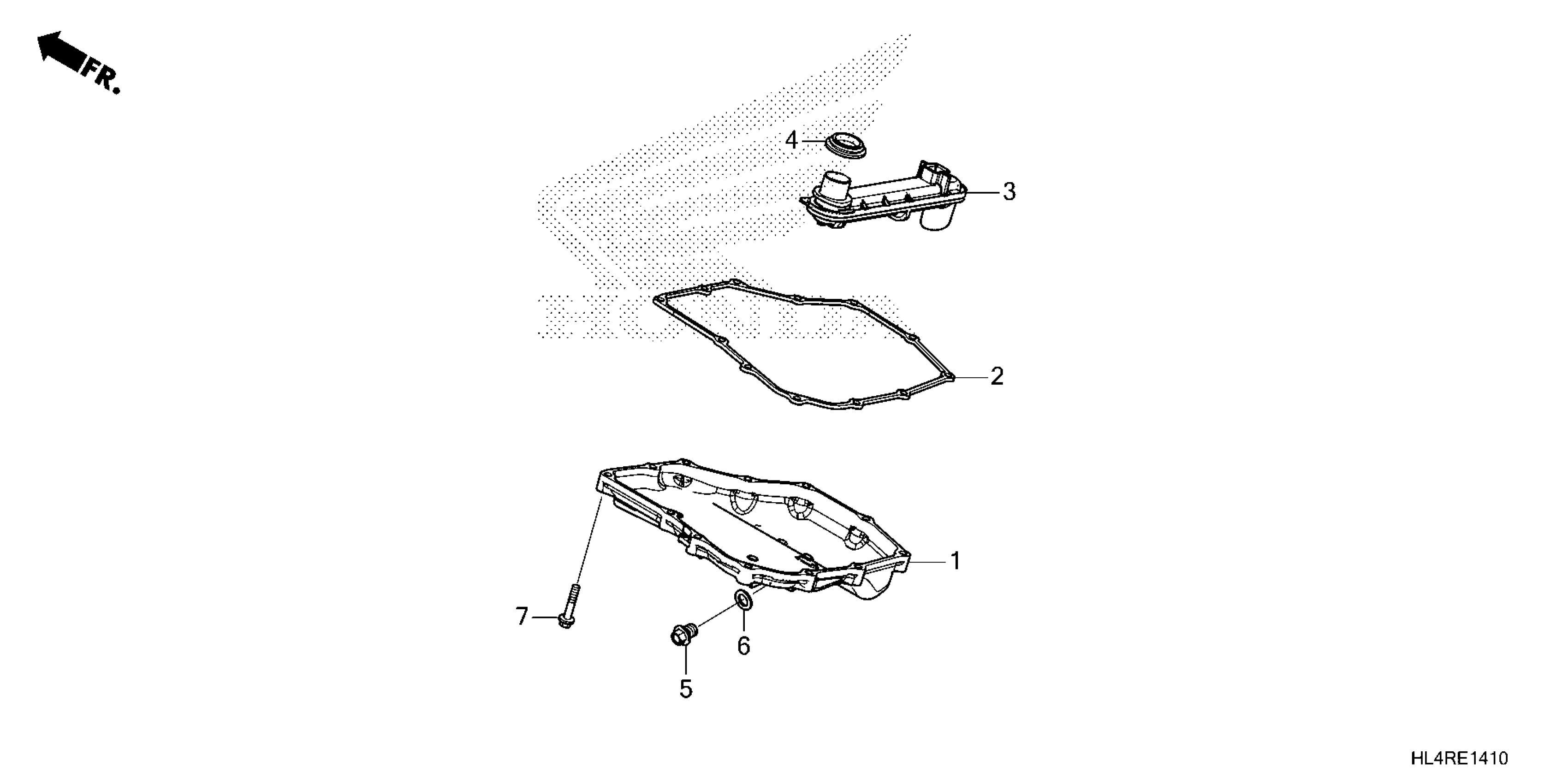
Honda SXS1000M5D6AC (24) ALL-TERRAIN VEHICLE (ATV), USA, VIN# 1HFVE04N-R4800001 TO 1HFVE04N-R4899999 OIL PAN Diagram

#

Description
Price

1

PAN, OIL

11211-HL4-000

$148.62

2

GASKET, OIL PAN

11395-HL4-003

$9.69

3

STRAINER, OIL

15150-HL4-003

$27.44

4

GASKET, OIL STRAINER

15154-MAT-000

$6.16

5

BOLT, DRAIN PLUG (12X15) This part replaces 90131-883-000.

90131-896-650

$3.98

5

BOLT, DRAIN PLUG (12X15)

90131-896-650

$3.98

6

WASHER, DRAIN PLUG (12MM)

94109-12000

$1.49

7

BOLT, FLANGE (6X30)

95701-06030-00

$1.89