- Partiron
- OEM Parts
- Honda
- ALL-TERRAIN VEHICLE
- 2018
- SXS1000M3PAC (18) ALL-TERRAIN VEHICLE (ATV), USA, VIN# 1HFVE04M-J4200001
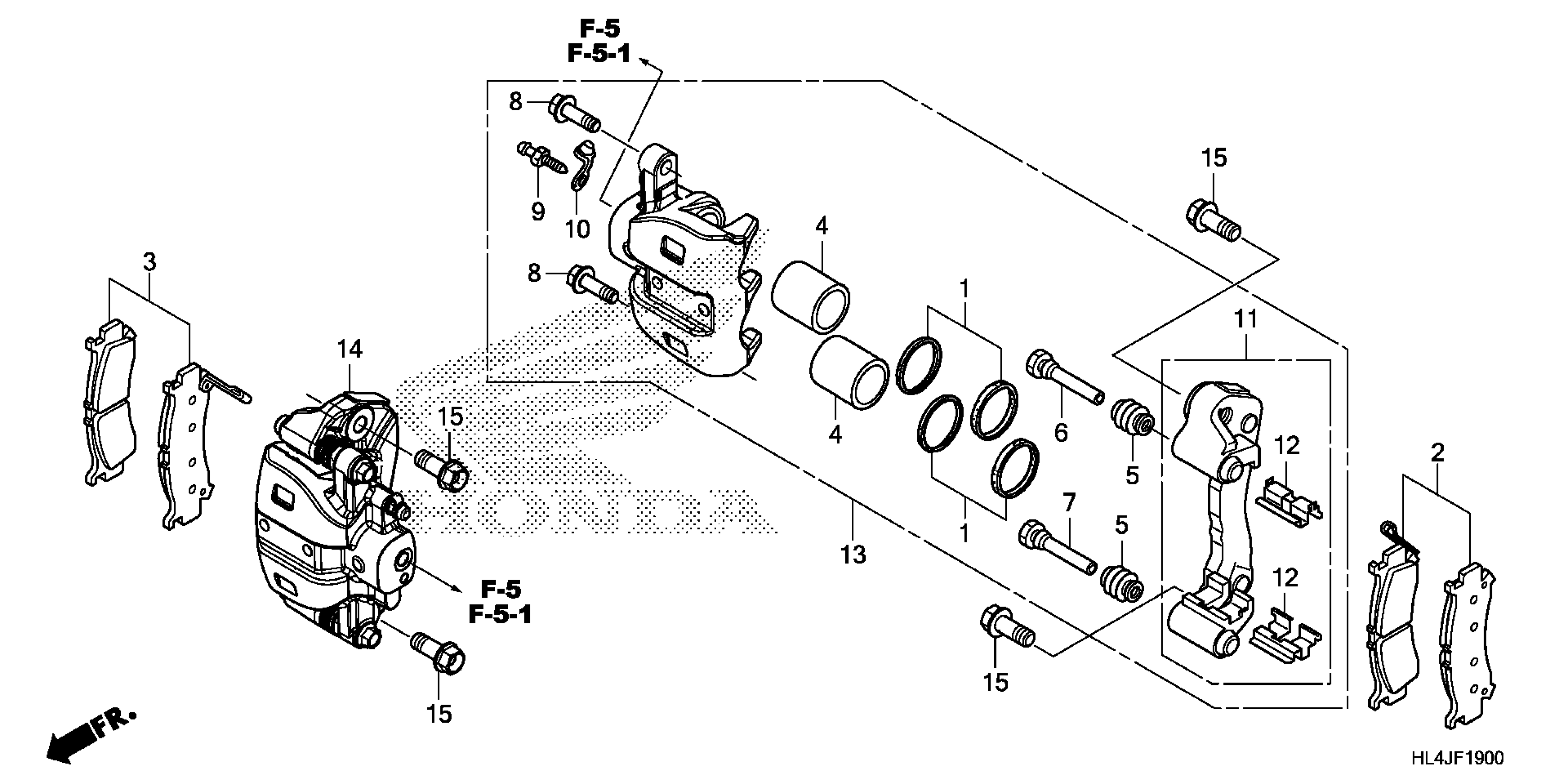
FRONT BRAKE CALIPER
Honda SXS1000M3PAC (18) ALL-TERRAIN VEHICLE (ATV), USA, VIN# 1HFVE04M-J4200001 FRONT BRAKE CALIPER Diagram
#
Description
Price
