- Partiron
- OEM Parts
- Honda
- ALL-TERRAIN VEHICLE
- 2019
- SXS1000M3A (19) ALL-TERRAIN VEHICLE (ATV), USA, VIN# 1HFVE048-K4300001
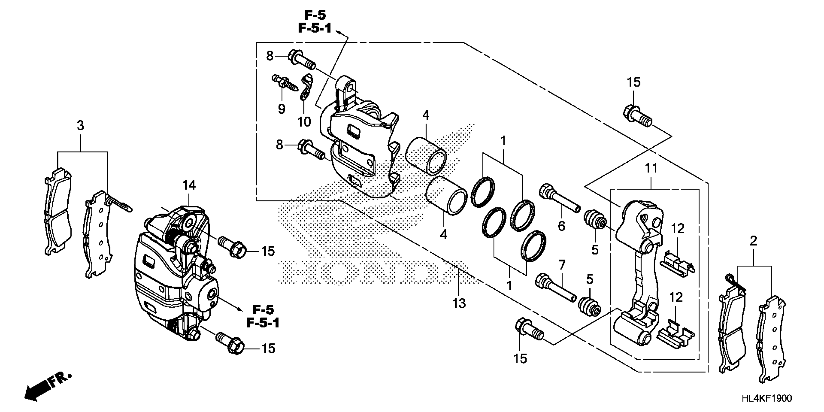
FRONT BRAKE CALIPER
Honda SXS1000M3A (19) ALL-TERRAIN VEHICLE (ATV), USA, VIN# 1HFVE048-K4300001 FRONT BRAKE CALIPER Diagram
#
Description
Price
