- Partiron
- OEM Parts
- Honda
- ALL-TERRAIN VEHICLE
- 2016
- SXS1000M3A (16) PIONEER 1000, USA, VIN# 1HFVE048-G4000001
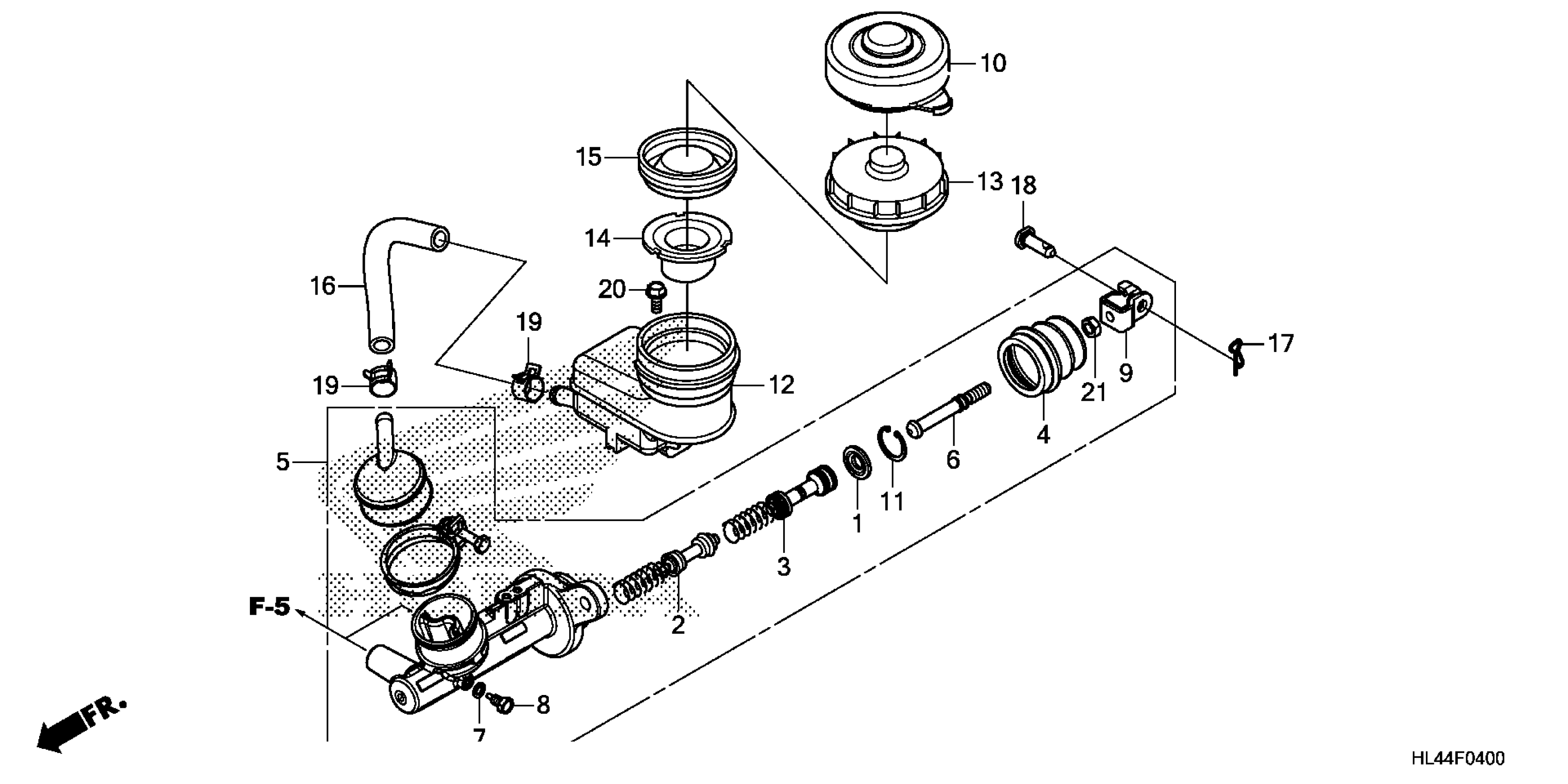
FRONT BRAKE MASTER CYLINDER
Honda SXS1000M3A (16) PIONEER 1000, USA, VIN# 1HFVE048-G4000001 FRONT BRAKE MASTER CYLINDER Diagram
#
Description
Price
8
BOLT, STOPPER (NOT AVAILABLE)
46139-632-000
Unavailable
16
HOSE, RESERVE TANK
46673-S6A-003
Unavailable
