Partiron

Yamaha SX600G (SX600R) 8EA4 2002 ALTERNATE BODY RIG 2 Diagram

#

Description
Price

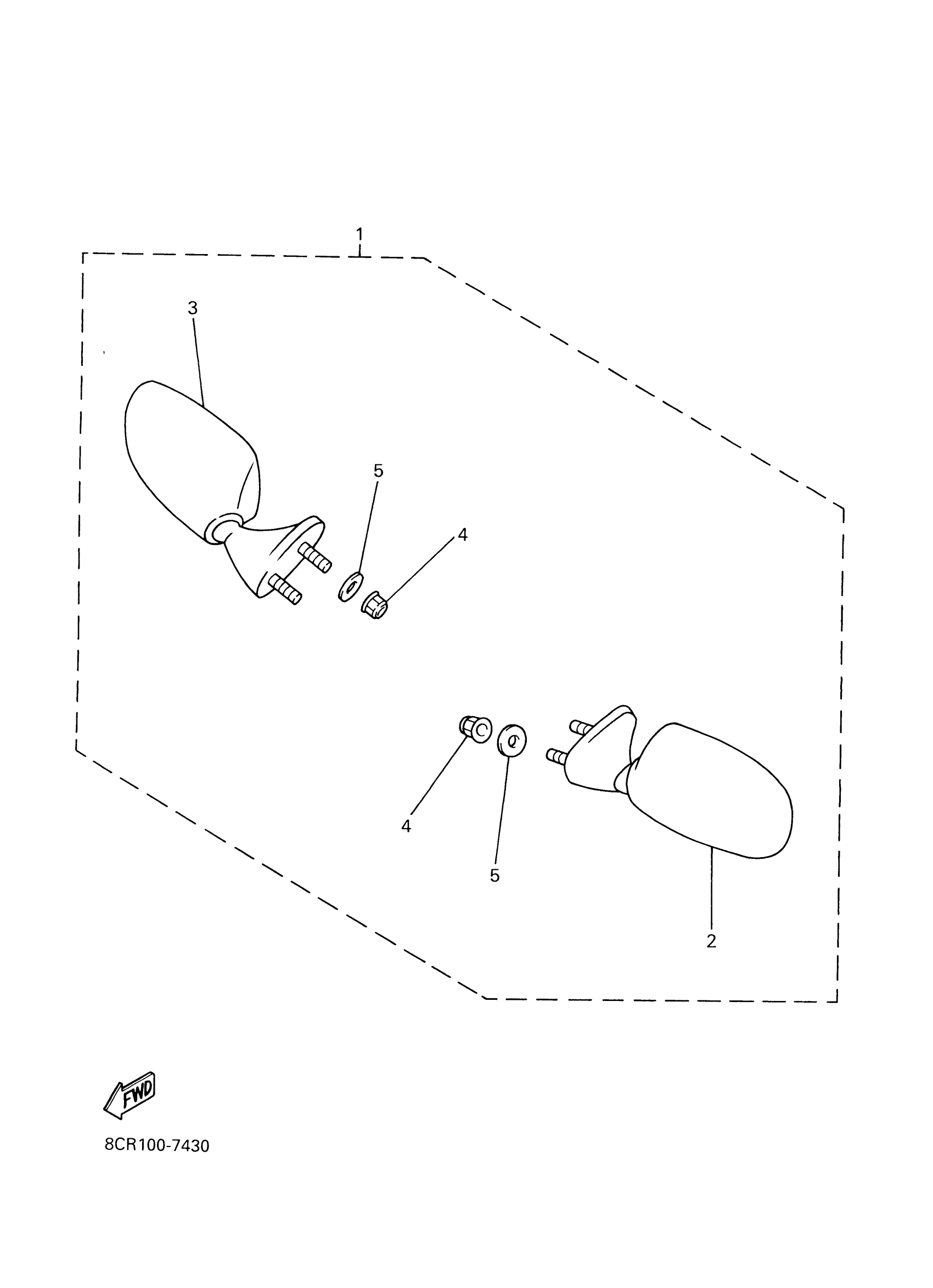
1

REAR VIEW MIRROR SET

8CR-W2628-00-00

$241.99

2

REAR VIEW MIRROR ASSY(LEFT)

4SV-26280-00-00

$115.99

3

REAR VIEW MIRROR ASSY(RIGHT)

4SV-26290-00-00

$126.99

4

NUT,SELF-LOCKING

95607-06200-00

$12.49

5

WASHER PLATE 137241870000

90201-06072-00

$9.49