- Partiron
- OEM Parts
- Yamaha
- snowmobile
- 2001
- SX500F (SX500R) 8CT3 2001
TRACK SUSPENSION 2
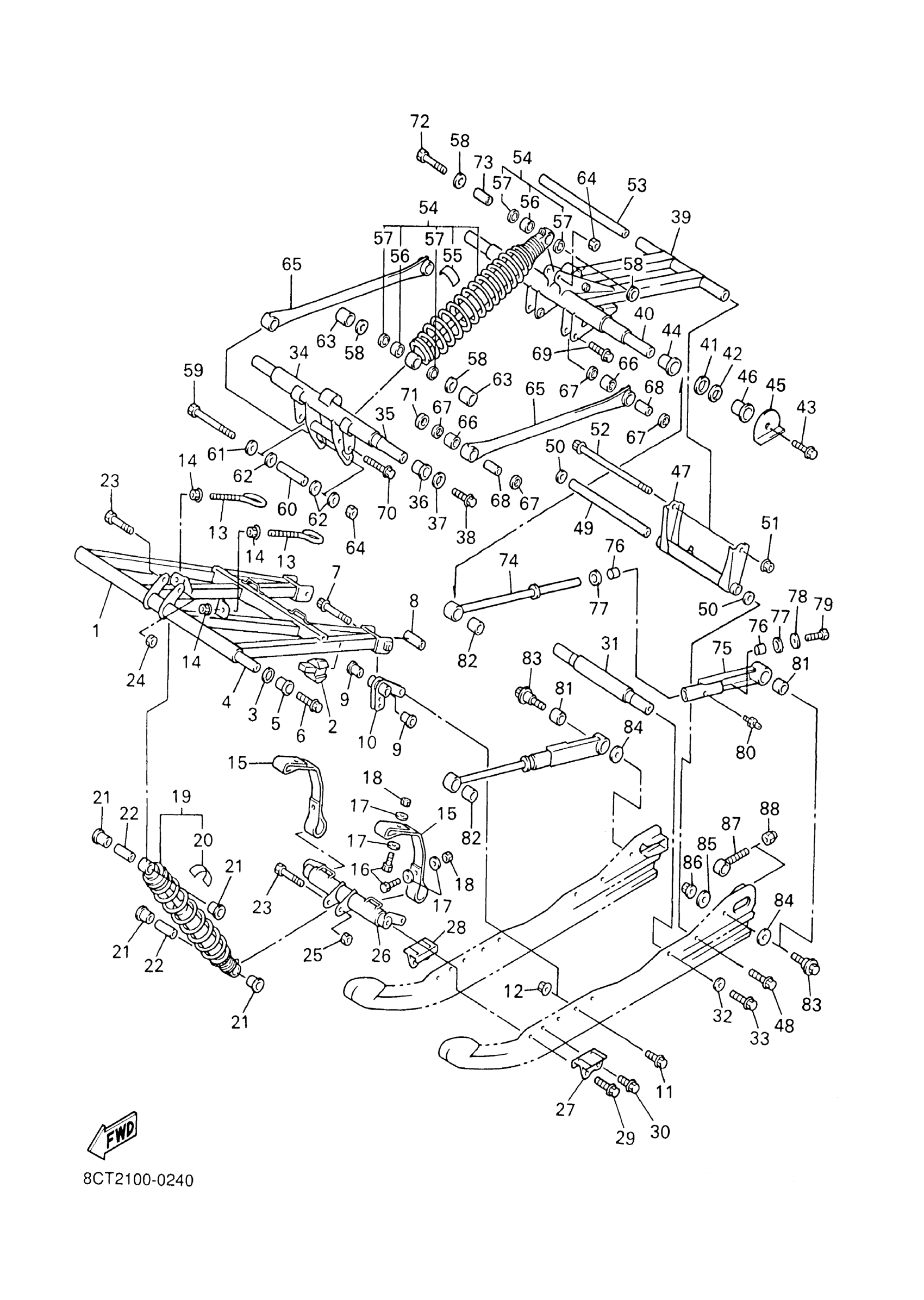
Yamaha SX500F (SX500R) 8CT3 2001 TRACK SUSPENSION 2 Diagram
#
1
ARM, PIVOT 1
8CV-47331-01-00
Unavailable
2
DAMPER 1
8DF-47456-10-00
Unavailable
4
SHAFT 1
8CR-47465-00-00
Unavailable
10
BRACKET 1
8CR-47415-00-00
Unavailable
16
BOLT, HEXAGON
97017-06025-00
Unavailable
17
WASHER, PLATE
90201-06747-00
Unavailable
18
NUT, NYLON
95707-06300-00
Unavailable
19
SHOCK ABSORBER 2
8CH-47481-40-00
Unavailable
20
LABEL, WARNING
4AA-22259-60-00
Unavailable
21
BUSH, SOLID(8CM)
90381-14101-00
Unavailable
22
COLLAR (8U7)
90387-105G5-00
Unavailable
23
BOLT(88R)
90101-10738-00
Unavailable
24
NUT, SELF LOCKING (23X)
90185-10120-00
Unavailable
25
NUT, U
95617-10100-00
Unavailable
26
BRACKET 4
8EA-47418-00-00
Unavailable
27
BRACKET 5
8DF-47463-01-00
Unavailable
28
BRACKET 6
8DF-47464-01-00
Unavailable
29
BOLT, FLANGE
95817-10030-00
Unavailable
30
BOLT, FLANGE(8AB)
95817-08020-00
Unavailable
31
SHAFT 4
8CR-47486-00-00
Unavailable
32
WASHER, PLATE (17K)
90201-106F2-00
Unavailable
33
BOLT, FLANGE
95817-10030-00
Unavailable
34
BRACKET 2
8CR-47416-10-00
Unavailable
35
SHAFT 6
8CR-47488-00-00
Unavailable
36
BUSH, SOLID(8CM)
90381-22099-00
Unavailable
37
WASHER, PLATE(1KE)
90201-207J5-00
Unavailable
39
ARM, PIVOT 2
8CR-47332-10-00
Unavailable
40
SHAFT 2
8CR-47475-00-00
Unavailable
41
WASHER, PLATE (8V2)
90201-251G8-00
Unavailable
42
WASHER, PLATE(8CJ)
90201-250T6-00
Unavailable
44
BUSH, SOLID(8CJ)
90381-28108-00
Unavailable
45
BRACKET, REAR 1
8CR-47426-11-00
Unavailable
46
BRACKET, REAR 2
8CR-47425-00-00
Unavailable
47
BRACKET 3
8CR-47417-01-00
Unavailable
48
BOLT, FLANGE
95817-10030-00
Unavailable
49
SHAFT 3
82M-47485-02-00
Unavailable
50
WASHER PLATE (789)
90201-10136-00
Unavailable
51
NUT, SELF-LOCKING
90185-08169-00
Unavailable
52
BOLT, FLANGE
95827-08220-00
Unavailable
53
COLLAR (8U7)
90387-083G6-00
Unavailable
54
SHOCK ABSORBER
8CH-47480-40-00
Unavailable
55
LABEL, WARNING
4AA-22259-60-00
Unavailable
56
BEARING, CYLINDRICAL(8CM)
93315-21454-00
Unavailable
57
OIL SEAL (2K8)
93109-14021-00
Unavailable
58
WASHER, PLATE(8CM)
90202-14226-00
Unavailable
59
BOLT, ADJUSTING
8AC-4631K-00-00
Unavailable
60
COLLAR(8CJ)
90387-1009S-00
Unavailable
61
WASHER, PLATE
90201-10039-00
Unavailable
62
WASHER, PLATE(8BT)
90201-100U1-00
Unavailable
63
COLLAR(8CM)
90387-1404R-00
Unavailable
64
NUT, U
95617-10100-00
Unavailable
65
ROD, RELAY
8CX-47494-01-00
Unavailable
66
BEARING, CYLINDRICAL(8CM)
93315-21455-00
Unavailable
67
OIL SEAL (2K8)
93109-14021-00
Unavailable
68
COLLAR
90387-1007M-00
Unavailable
69
BOLT, FLANGE
95817-10035-00
Unavailable
70
BOLT, FLANGE
95814-10040-00
Unavailable
71
WASHER, PLATE(8BT)
90201-100U1-00
Unavailable
72
BOLT(88R)
90101-10738-00
Unavailable
73
COLLAR(8CM)
90387-1007N-00
Unavailable
74
ROD, CONTROL 1
8CR-4745A-01-00
Unavailable
75
ROD, CONTROL 2
8CR-4745B-00-00
Unavailable
76
BUSH, BIMETAL FORMED(8CJ)
90384-16251-00
Unavailable
77
WASHER, PLATE(8BT)
90202-16232-00
Unavailable
78
WASHER, PLATE (17K)
90201-106F2-00
Unavailable
79
BOLT(6TD)
97017-10025-00
Unavailable
80
NIPPLE, GREASE
93700-06M03-00
Unavailable
81
BUSH, SOLID(8CM)
90380-22232-00
Unavailable
82
BUSH, SOLID(8CJ)
90380-28235-00
Unavailable
83
SCREW, REAR PIVOT
8DF-47367-09-00
Unavailable
84
WASHER, PLATE(JN9)
90201-100S2-00
Unavailable
85
WASHER, PLATE
90201-101U2-00
Unavailable
87
COLLAR 3
8K2-47479-01-00
Unavailable
88
NUT, NYLON
95707-10300-00
Unavailable
