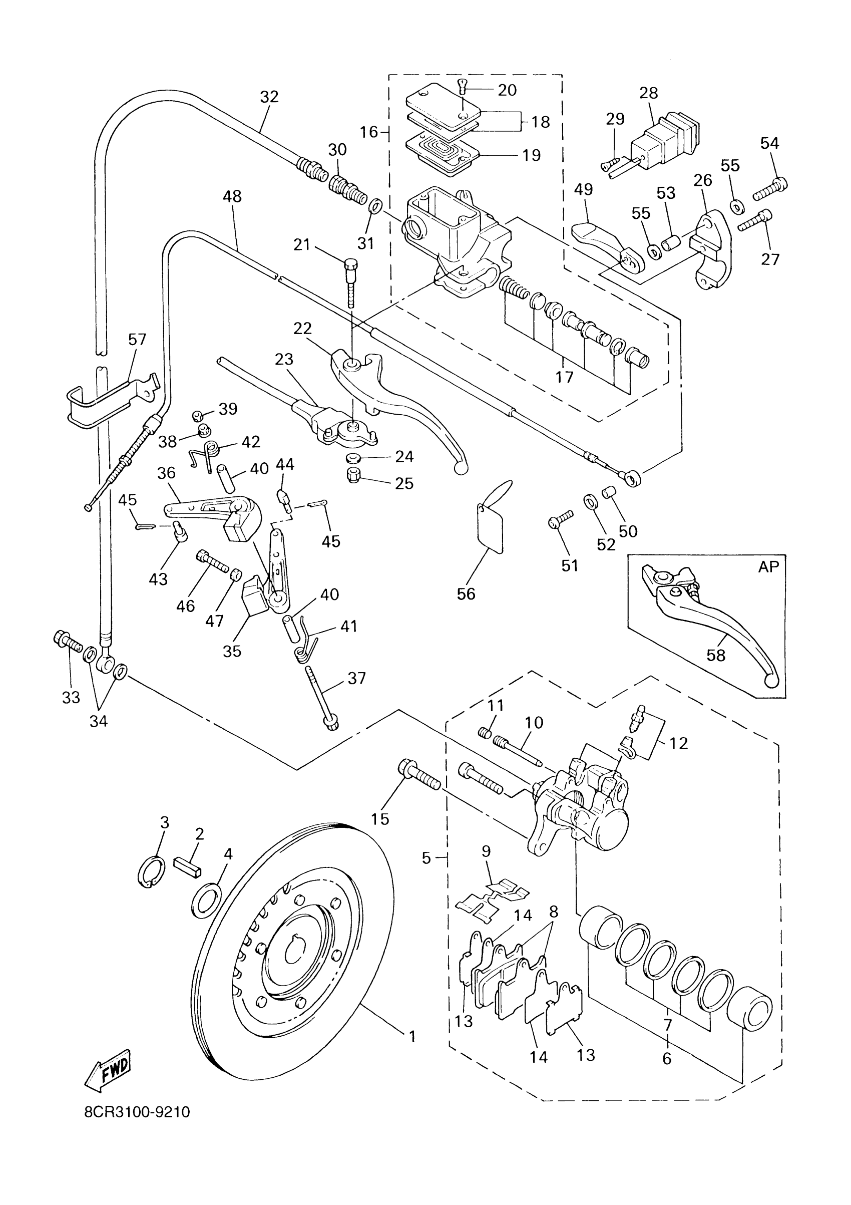
Yamaha SX500 8CT3 2001 BRAKE Diagram
#
1
DISK BRAKE ASSY
8DN-2581T-00-00
Unavailable
4
WASHER, PLATE
90201-270U5-00
Unavailable
5
CALIPER ASSY (LEFT)
8DF-2580T-02-00
Unavailable
6
PISTON ASSY, CALIPER
8CR-W0057-00-00
Unavailable
9
SUPPORT, PAD
8CR-25919-00-00
Unavailable
11
BOLT
8CR-25926-00-00
Unavailable
13
. RETAINER
8DF-2582F-00-00
Unavailable
14
. SHIM, CALIPER
8DF-25828-00-00
Unavailable
16
MASTER CYLINDER SUB ASSY
8DF-W2587-40-00
Unavailable
17
CYLINDER KIT, MASTER
8CR-W0041-00-00
Unavailable
18
RESERVOIR CAP SET
8CR-W2585-00-00
Unavailable
19
DIAPHRAGM, RESERVOIR
55U-25854-00-00
Unavailable
20
SCREW, FLAT
98707-04012-00
Unavailable
21
BOLT, LEVER
8CR-2589F-00-00
Unavailable
22
LEVER 1
8CR-83912-00-00
Unavailable
23
STOP SWITCH ASSY
8CR-82530-01-00
Unavailable
24
WASHER, PLAIN
8CR-8398X-00-00
Unavailable
25
NUT, NYLON
95707-05300-00
Unavailable
26
HOLDER, MASTER CYLINDER
8CR-25867-00-00
Unavailable
27
BOLT,SOCKET
91317-06025-00
Unavailable
28
BEAM SWITCH ASSY
8K4-83950-01-00
Unavailable
29
SCREW
8CR-2589H-00-00
Unavailable
30
JOINT
3LC-25885-00-00
Unavailable
31
WASHER, PLATE(481)
90201-10118-00
Unavailable
32
HOSE, BRAKE 1
8ED-25872-00-00
Unavailable
33
BOLT, UNION(3GM)
90401-10159-00
Unavailable
34
WASHER, PLATE(481)
90201-10118-00
Unavailable
35
CALIPER BODY COMP.1
8CR-25730-00-00
Unavailable
36
CALIPER BODY COMP. 2
8CR-25740-00-00
Unavailable
37
BOLT, FLANGE
90105-08094-00
Unavailable
38
NUT, FLANGE(JN5)
95707-08500-00
Unavailable
39
NUT, HEXAGON SMALL
95317-08700-00
Unavailable
40
COLLAR(82M)
90387-084R5-00
Unavailable
41
SPRING, TORSION(8CJ)
90508-291B2-00
Unavailable
42
SPRING, TORSION
90508-291B1-00
Unavailable
43
PIN
90249-06009-00
Unavailable
44
PIN (810)
90249-06012-00
Unavailable
45
PIN, COTTER (648)
91490-20015-00
Unavailable
46
BOLT, HEXAGON
97017-06025-00
Unavailable
47
NUT(JN5)
95317-06700-00
Unavailable
48
CABLE, BRAKE
8ED-26351-00-00
Unavailable
49
LEVER 2
8CR-83922-00-00
Unavailable
50
COLLAR
90387-06043-00
Unavailable
51
BOLT, BUTTON HEAD
92017-06014-00
Unavailable
52
. WASHER, PLATE
90201-06050-00
Unavailable
53
COLLAR
90387-081M9-00
Unavailable
54
BOLT, BUTTON
92017-08020-00
Unavailable
55
WASHER PLATE 141181390000
90201-08085-00
Unavailable
56
TAG, CAUTION
8CR-23496-00-00
Unavailable
57
HOLDER, BRAKE HOSE
8DF-25886-00-00
Unavailable
58
LEVER 1
8DN-83912-00-00
Unavailable
