- Partiron
- OEM Parts
- Yamaha
- snowmobile
- 2024
- SW1NXLRL (SIDEWINDER X TX LE 146) 8NM7 2024
TRACK SUSPENSION 3
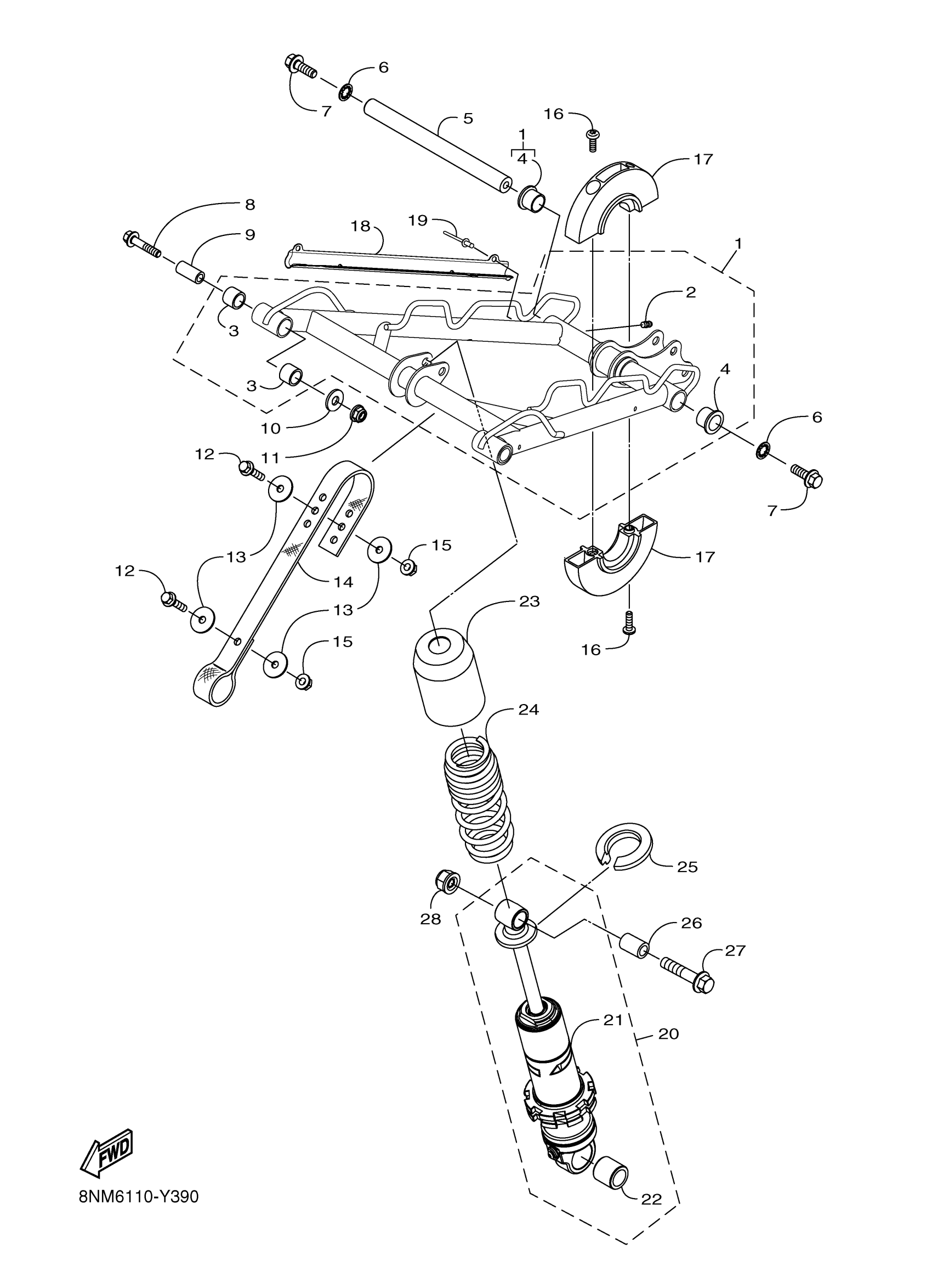
Yamaha SW1NXLRL (SIDEWINDER X TX LE 146) 8NM7 2024 TRACK SUSPENSION 3 Diagram
#
Description
Price
1
ARM, PIVOT 1
8NN-G7331-10-00
Unavailable
9
COLLAR, 16
8JP-RA733-00-00
Unavailable
16
SCREW, 12
8JP-RA2A1-00-00
Unavailable
17
RIM,GUIDE WHEEL
8JR-G7513-00-00
Unavailable
18
PROTECTER, WIRE HA
8MY-H2589-00-00
Unavailable
19
CLIP, 1
8MY-RAC00-00-00
Unavailable
20
DAMPER SUB ASSY
8NN-F2201-00-00
Unavailable
21
. LABEL, WARNING
8JP-F2259-70-00
Unavailable
22
COLLAR, 22.4
8JP-RA730-00-00
Unavailable
23
COVER
8JP-F2211-00-00
Unavailable
24
SPRING
8JX-G7336-00-00
Unavailable
25
GUIDE, SPRING 1
8JP-F2214-00-00
Unavailable
26
COLLAR, 14
8JP-RA726-00-00
Unavailable
27
BOLT, FLG. M10X1.2
8JP-RA1A2-10-00
Unavailable
28
LOCK NUT
8JP-RA378-01-00
Unavailable
