Yamaha SW1NSRLPRB (SIDEWINDER SRX LE EPS) 8PE3 2024 SKI Diagram
#
Description
Price
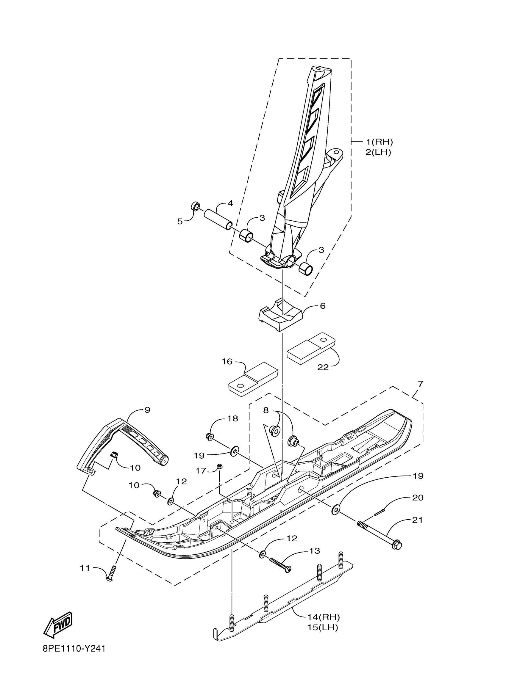
8
. COLLAR 1
8EX-F3754-00-00
Unavailable
9
REINFORCEMENT, HEAD
8MA-F3712-00-00
Unavailable
10
NUT, FLG. LOCKING
8KC-RA358-00-00
Unavailable
12
WASHER 1
8KC-F3737-00-00
Unavailable
16
INSERT
8MA-F3775-00-00
Unavailable
17
NUT, FLG. LOCKING
8JP-RA358-00-00
Unavailable
18
NUT, S/L FLANGE
95602-10200-00
Unavailable
19
WASHER, PLATE
90201-10043-00
Unavailable
20
PIN, COTTER
91490-20025-00
Unavailable
21
BOLT, FLANGE
90105-10070-00
Unavailable
22
INSERT (HALVES) 5.0
8MA-F3775-20-00
Unavailable
