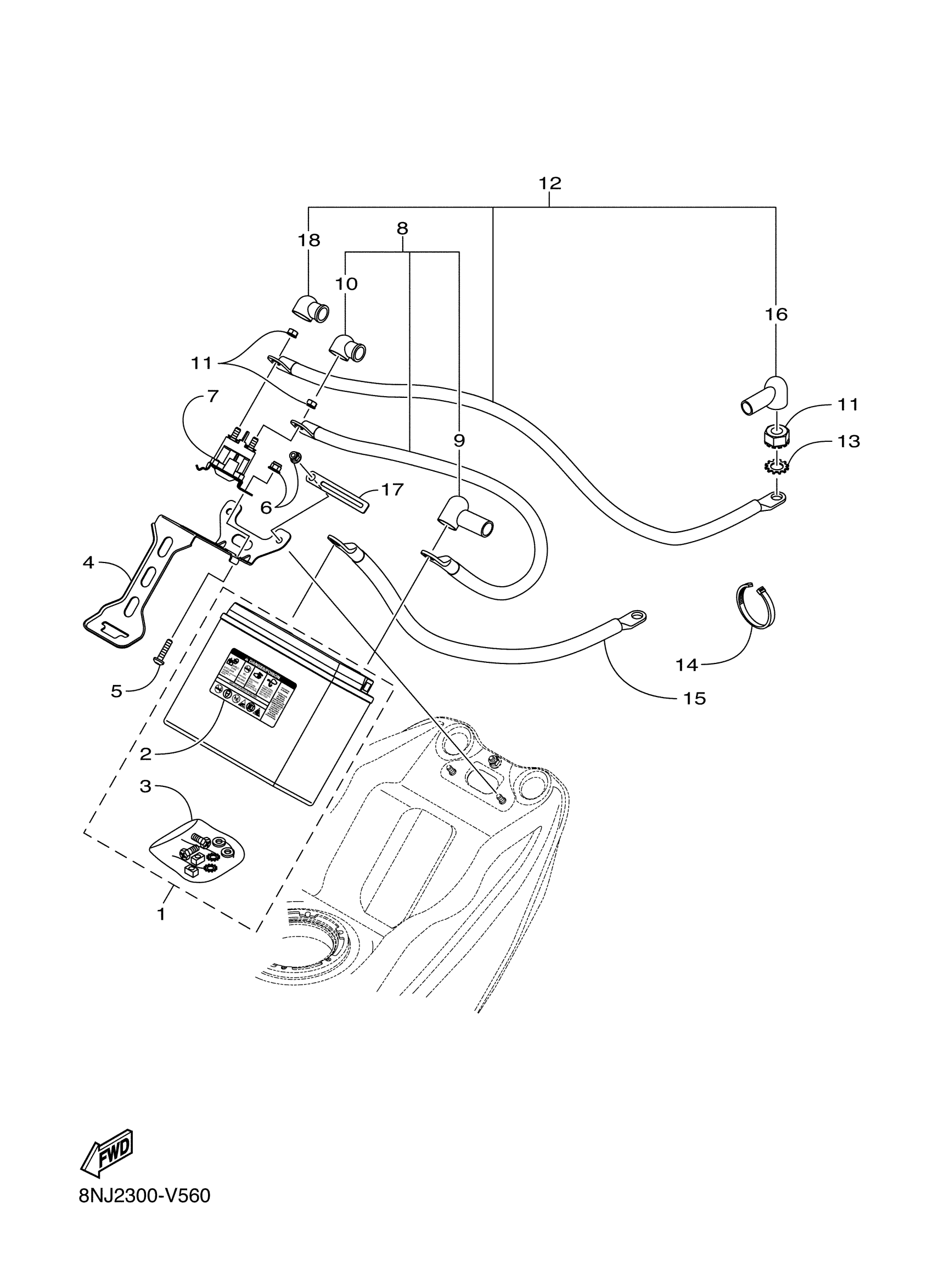
Yamaha SW1NSGNL (SIDEWINDER S TX GT EPS) 8PC1 2022 ELECTRICAL 3 Diagram
#
Description
Price
1
YTX20HBS YUASA BATTERY - SA
YTX-20HBS-00-00
Unavailable
2
. LABEL, BATTERY
8JP-H2141-00-00
Unavailable
3
. REPAIR PARTS KIT
8JP-F819G-00-00
Unavailable
8
CABLE 1
8JP-H8146-00-00
Unavailable
10
. COVER, TERMINAL
8JP-H1916-00-00
Unavailable
12
CABLE 2
8JP-H8147-00-00
Unavailable
14
TIE, CABLE-8.5/7.5/7.4
8JM-RAB01-00-00
Unavailable
15
WIRE, EARTH LEAD
8JP-H131Y-00-00
Unavailable
17
CLAMP, 20
8JP-RAB22-00-00
Unavailable
18
. COVER, TERMINAL
8JP-H1916-00-00
Unavailable
