Yamaha SW1NLSLO (SIDEWINDER L-TX SE) 8MA4 2020 SKI Diagram
#
Description
Price
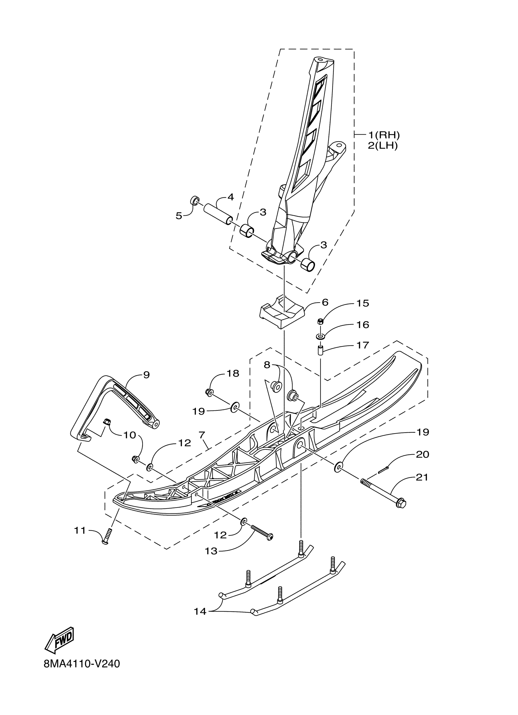
7
SKI,SRV TUNER GEN III BLACK
SMA-8HLDS-00-BK
Unavailable
8
. COLLAR 1
8EX-F3754-00-00
Unavailable
9
REINFORCE, HANDLE ORANG
SMA-8LH89-00-OR
Unavailable
10
NUT
8LH-F3778-00-00
Unavailable
11
BOLT, REINFORCEMENT HEAD 1
8LH-F3755-00-00
Unavailable
12
WASHER 1
8LH-F3737-00-00
Unavailable
13
BOLT, REINFORCEMENT HEAD 2
8LH-F3756-00-00
Unavailable
14
RUNNER 1
8KM-F3731-00-00
Unavailable
16
WASHER, PLATE
90201-08053-00
Unavailable
17
BUSH, SKI 1
8KN-F3751-00-00
Unavailable
18
NUT, S/L FLANGE
95602-10200-00
Unavailable
19
WASHER, PLATE
90201-10043-00
Unavailable
20
PIN, COTTER
91490-20025-00
Unavailable
21
BOLT, FLANGE
90105-10070-00
Unavailable
