Yamaha SW1NLGPSR (SIDEWINDER LTX GT EPS) 8PB4 2025 TRACK DRIVE 2 Diagram
#
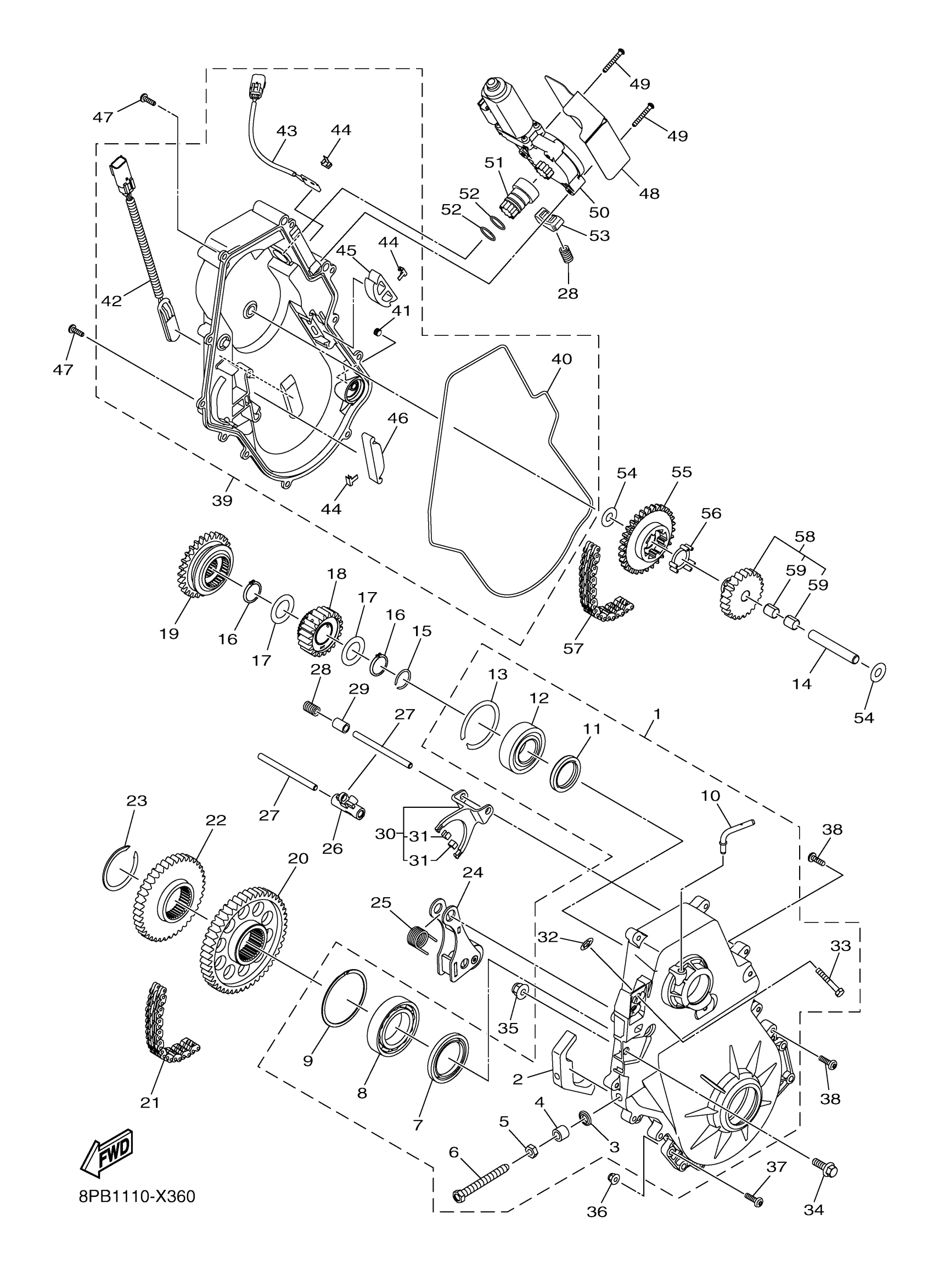
10
. BREATHER
8JP-G7586-00-00
Unavailable
11
SEAL, OIL 35X47X7
8JP-RAE01-00-00
Unavailable
16
CIRCLIP, 5
8JP-RAH11-00-00
Unavailable
17
WASHER, 1.00X1.562
8JP-RA440-00-00
Unavailable
18
DRIVE SPROCKET ASS
8KC-E769A-11-00
Unavailable
19
GEAR, REVERSE PINI
8JP-E7143-00-00
Unavailable
20
SPROCKET, CHAIN DRIVEN, 41T
8JP-G7587-10-00
Unavailable
21
CHAIN, BWA (86L)
8KC-RAM01-20-00
Unavailable
22
SPROCKET, CHAIN DR
8JP-G7548-00-00
Unavailable
23
CIRCLIP, 4
8JP-RAC03-00-00
Unavailable
24
HOLDER
8JP-G7613-02-00
Unavailable
25
SPRING, 1
8JP-RAD12-00-00
Unavailable
26
ARM, SHIFT
8JP-E8112-00-00
Unavailable
27
SHAFT, SHIFT
8JP-E8125-00-00
Unavailable
28
SPRING, 2
8JP-RAD13-00-00
Unavailable
29
BUSH, 2
8JP-RA803-00-00
Unavailable
30
FORK, SHIFT 1
8JP-E8501-00-00
Unavailable
31
SHOE
8JP-G7614-00-00
Unavailable
32
NUT, 1/4
8JP-RA347-00-00
Unavailable
33
BOLT, HEX. M6X1.0X
8JP-RA1A9-00-00
Unavailable
34
BOLT, FLG. M8X1.25
8JP-RA185-00-00
Unavailable
35
NUT,HEX FLG-NYL LOCK M8X1.25
8JM-RA301-00-00
Unavailable
36
NUT,FLG. M6-1.0
8JM-RA322-00-00
Unavailable
37
SCREW, M6X1.0X30
8JP-RA266-00-00
Unavailable
38
SCREW, TAPPING M6X
8JP-RA283-00-00
Unavailable
39
HOUSING CAP ASSY
8JP-G754B-10-00
Unavailable
40
RING,HOUSING
8JP-G7558-02-00
Unavailable
41
PLUG
8NV-G7339-00-00
Unavailable
42
SENSOR, SPEED
8JP-H5985-00-00
Unavailable
43
SENSOR, GEAR POSIT
8JP-H5899-00-00
Unavailable
44
CLIP, 3
8JP-RAC12-00-00
Unavailable
45
GUIDE, CHAIN 2
8JP-E7468-00-00
Unavailable
46
GUIDE, CHAIN 1
8JP-E7467-00-00
Unavailable
47
SCREW
8KG-RA229-00-00
Unavailable
48
COVER 1
8KC-G613F-00-00
Unavailable
49
SCREW, M5X0.8X35
8JP-RA247-00-00
Unavailable
50
SERVO MOTOR COMP
8JP-G616A-20-00
Unavailable
51
ADAPTER
8JP-E7848-10-00
Unavailable
52
O-RING, 2
8JP-RAF04-00-00
Unavailable
53
BRACKET
8JP-E8128-00-00
Unavailable
54
WASHER, 12X26X1
8JP-RA444-00-00
Unavailable
55
SPROCKET, DRIVE
8JP-E7692-00-00
Unavailable
56
DAMPER, RUBBER
8JP-E8615-00-00
Unavailable
57
CHAIN, REX 11
8JP-RAM02-00-00
Unavailable
58
REVERSE WHEEL ASSY
8JP-E724A-00-00
Unavailable
59
BUSH, 12
8JP-RA809-00-00
Unavailable
