- Partiron
- OEM Parts
- Yamaha
- snowmobile
- 2023
- SW1NLGPPT (SIDEWINDER LTX GT EPS) 8PB2 2023
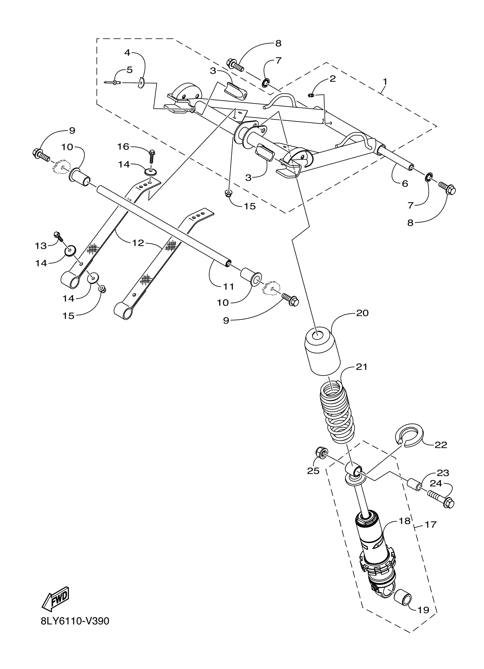
TRACK SUSPENSION 3
Yamaha SW1NLGPPT (SIDEWINDER LTX GT EPS) 8PB2 2023 TRACK SUSPENSION 3 Diagram
#
Description
Price
1
ARM, PIVOT 1
8LJ-G7331-10-00
Unavailable
4
WASHER
8JP-G7359-00-00
Unavailable
9
BOLT, FLG. M10X1.2
8JP-RA1A0-00-00
Unavailable
11
SHAFT 1
8JP-G7465-00-00
Unavailable
12
STOPPER
8ND-G6432-00-00
Unavailable
16
BOLT, FLG. M6X1.0X
8JP-RA181-00-00
Unavailable
17
DAMPER SUB ASSY
8NN-F2201-00-00
Unavailable
18
. LABEL, WARNING
8JP-F2259-70-00
Unavailable
19
COLLAR, 22.4
8JP-RA730-00-00
Unavailable
20
COVER
8JP-F2211-00-00
Unavailable
21
SPRING
8JX-G7336-00-00
Unavailable
22
GUIDE, SPRING 1
8JP-F2214-00-00
Unavailable
23
COLLAR, 14
8JP-RA726-00-00
Unavailable
24
BOLT, FLG. M10X1.2
8JP-RA1A2-10-00
Unavailable
25
LOCK NUT
8JP-RA378-01-00
Unavailable
