Partiron

Yamaha SW1NLDJL (SIDEWINDER L TX DX) 8MB20 2018 BUMPER Diagram

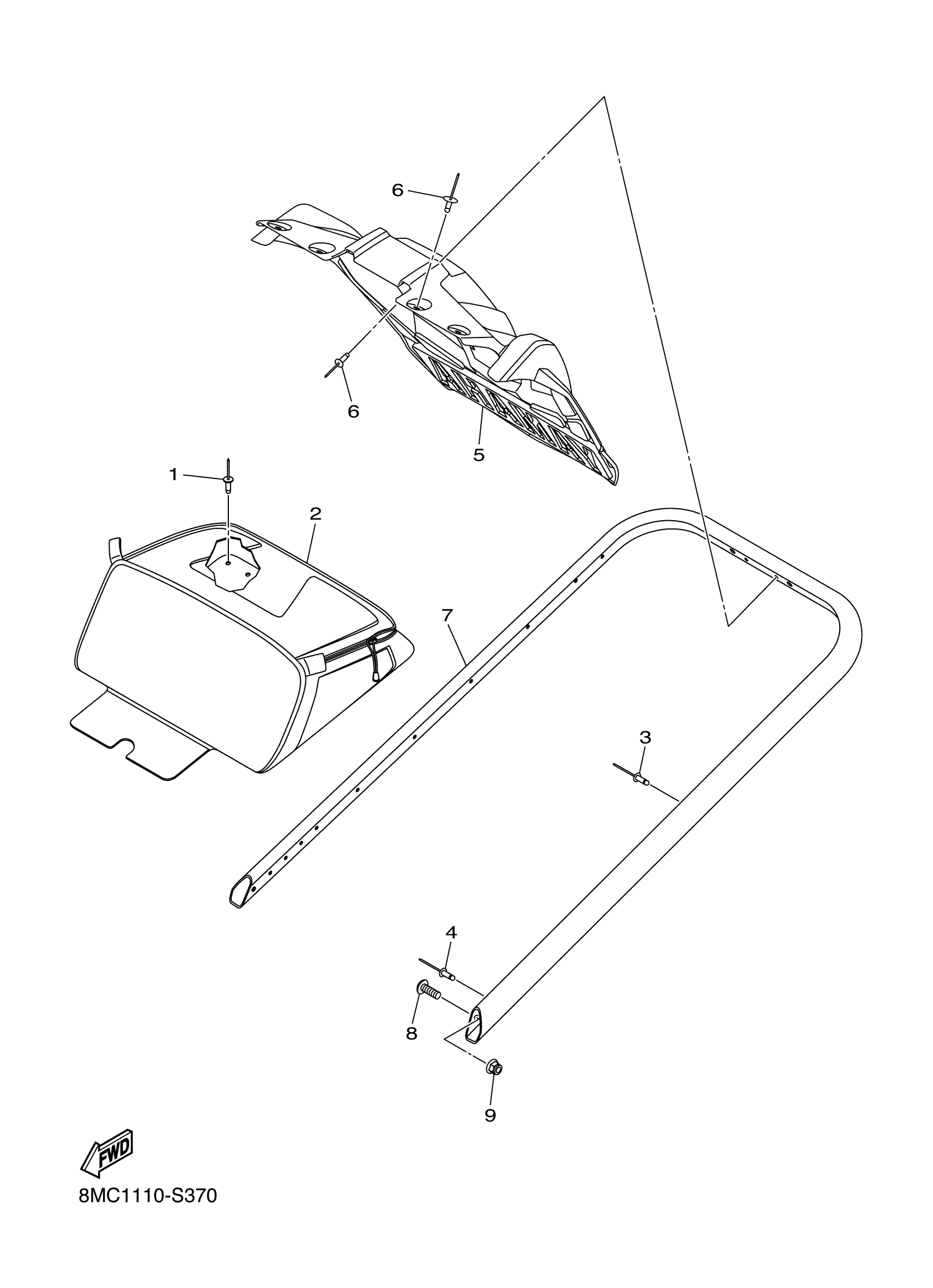
#

Description
Price

1

RIVET, 11

8JP-RA520-20-00

Unavailable

2

SADDLE BAG 1

8NL-F8441-00-00

Unavailable

3

RIVET, 11

8JP-RA520-00-00

$0.70

4

RIVET, 3/16

8JP-RA527-00-00

$2.22

5

FLAP

8JP-K7595-00-00

$69.99

6

RIVET, 15

8JP-RA524-00-00

$2.12

7

BUMPER, REAR 1

8LJ-K7541-10-00

$127.99

8

SCREW, M6X1.0X20

8JP-RA260-00-00

$0.54

9

NUT,FLG. M6-1.0

8JM-RA322-00-00

$1.07