Partiron

Yamaha SV80N (SNOSCOOT) 1989 TRACK DRIVE 1 Diagram

#

Description
Price

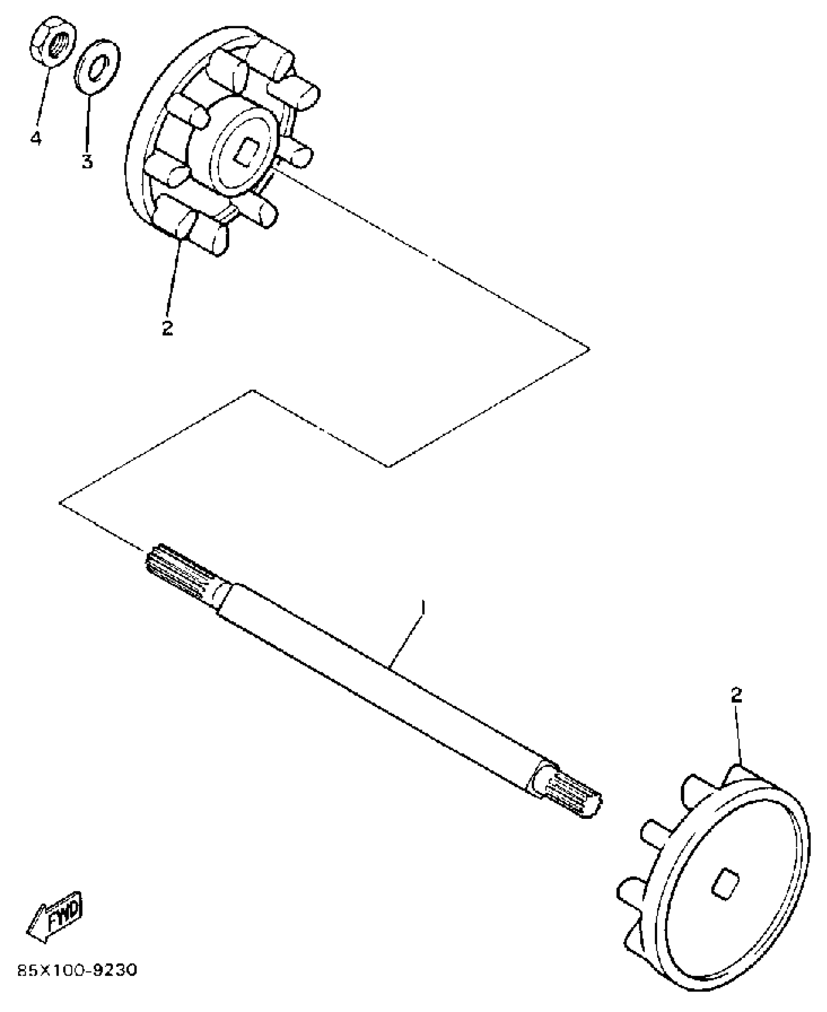
1

AXLE, FRONT

85G-47511-00-00

Unavailable

2

WHEEL,SPROCKET ASY

85G-W4753-02-00

Unavailable

3

WASHER (853)

90208-20008-00

$10.49

4

NUT, HEXAGON (8F3)

90170-20211-00

$4.72