Partiron

Yamaha SV80EM (SNOSCOOT (ELEC START)) 1988 TRACK DRIVE 1 Diagram

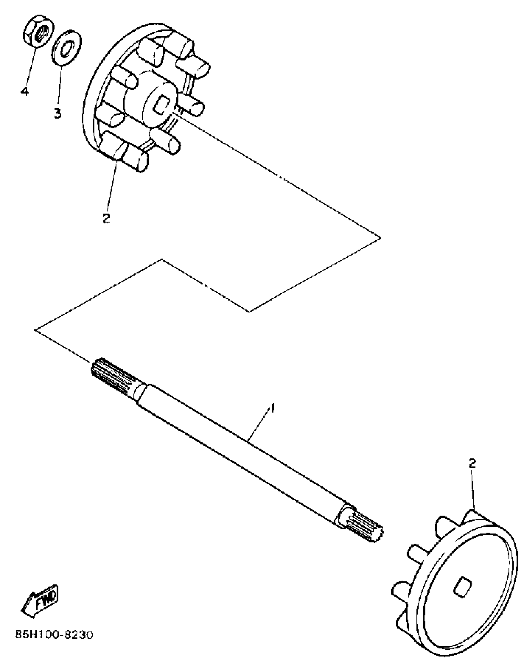
#

Description
Price

1

AXLE, FRONT

85G-47511-00-00

Unavailable

2

WHEEL,SPROCKET ASY

85G-W4753-02-00

Unavailable

3

WASHER (853)

90208-20008-00

$10.49

4

NUT, HEXAGON (8F3)

90170-20211-00

$4.72