Yamaha SV80EM (SNOSCOOT (ELEC START)) 1988 CARBURETOR Diagram
#
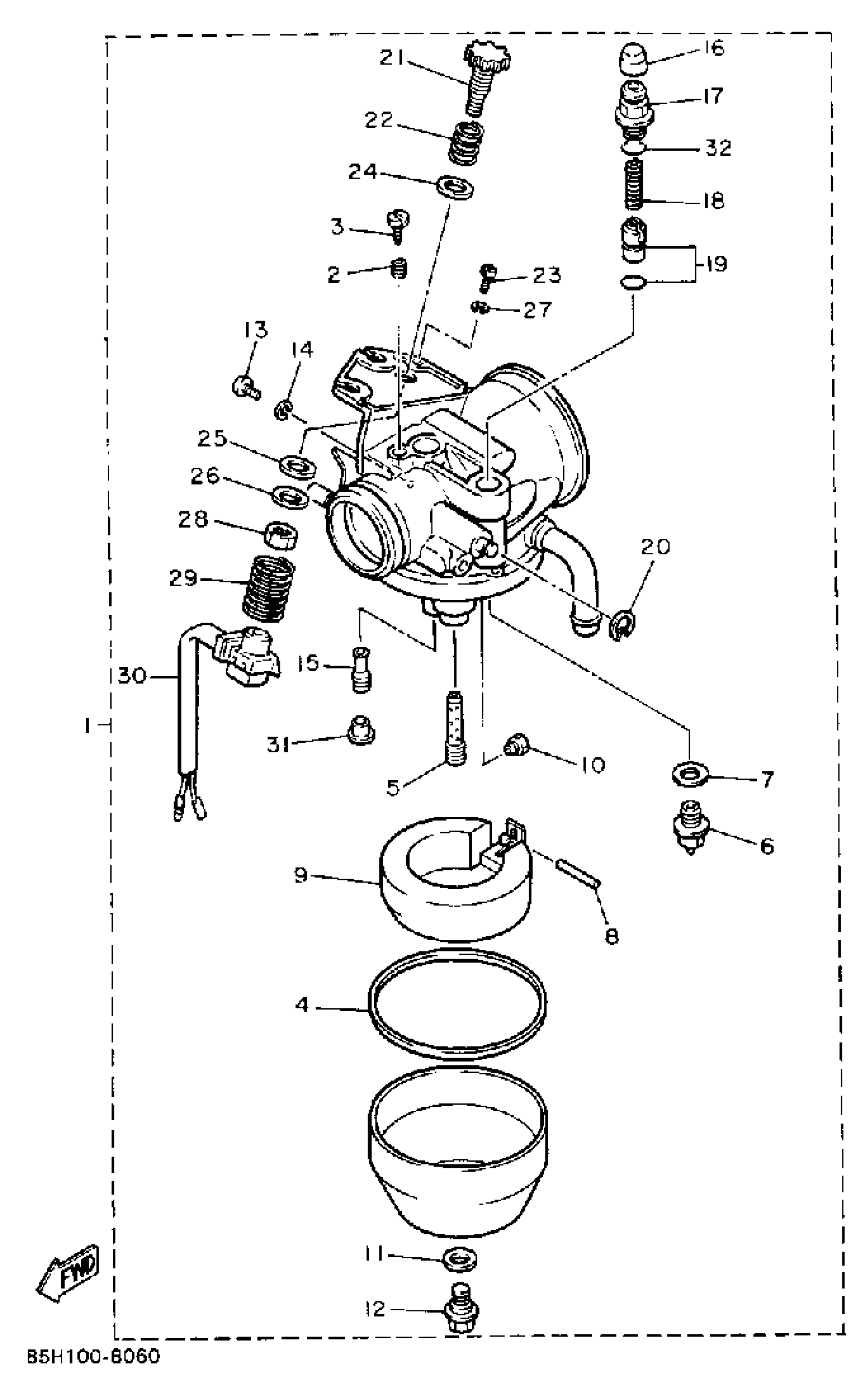
3
. SCREW, PILOT ADJUST
85G-14211-10-00
Unavailable
4
. GASKET
85G-14126-00-00
Unavailable
8
. PIN, FLOAT ARM
7G0-14548-00-00
Unavailable
9
. FLOAT
85G-14185-01-00
Unavailable
10
JET, MAIN (#100)
3G2-14231-20-00
Unavailable
10
JET, MAIN (#105)
3G2-14231-21-00
Unavailable
10
. JET, MAIN #1013
3G2-1423E-40-00
Unavailable
10
JET, MAIN (#103.8)
3G2-1423E-41-00
Unavailable
12
. BOLT, HOLDING
7R1-14162-00-00
Unavailable
13
SCREW, PAN HEAD(3XP)
98517-04006-00
Unavailable
14
YBS67-4 WASHER, SPRING
92990-04100-00
Unavailable
15
. JET, PILOT 625
193-14142-62-00
Unavailable
16
COVER, PLUNGER CAP
22F-14173-00-00
Unavailable
17
. GUIDE, CABLE
85G-14155-10-00
Unavailable
18
SPRING, PLUNGER
127-14135-00-00
Unavailable
19
. PLUNGER, STARTER
5V7-14171-00-00
Unavailable
20
CLIP
363-14137-00-00
Unavailable
21
. SCREW, THROTTLE
85G-14122-00-00
Unavailable
22
. SPRING, THRTL STOP
354-14133-00-00
Unavailable
23
. SCREW, GUIDE
85G-14245-00-00
Unavailable
24
GASKET
22F-14126-00-00
Unavailable
25
WASHER, PLUG SCREW
22F-14117-00-00
Unavailable
26
. WASHER
1UF-14952-00-00
Unavailable
27
YBS67-4 WASHER, SPRING
92990-04100-00
Unavailable
28
NUT
8X0-14358-00-00
Unavailable
29
SPRING, THROTTLE STOP
8X0-14133-00-00
Unavailable
30
SWITCH, CARBURETOR
87S-8259A-01-00
Unavailable
31
. CAP, CARBURETOR
6K8-14471-10-00
Unavailable
32
O-RING
1AE-14147-00-00
Unavailable
