- Partiron
- OEM Parts
- Suzuki
- Motorcycle
- 2025
- SV650AM5(E28) (2025)
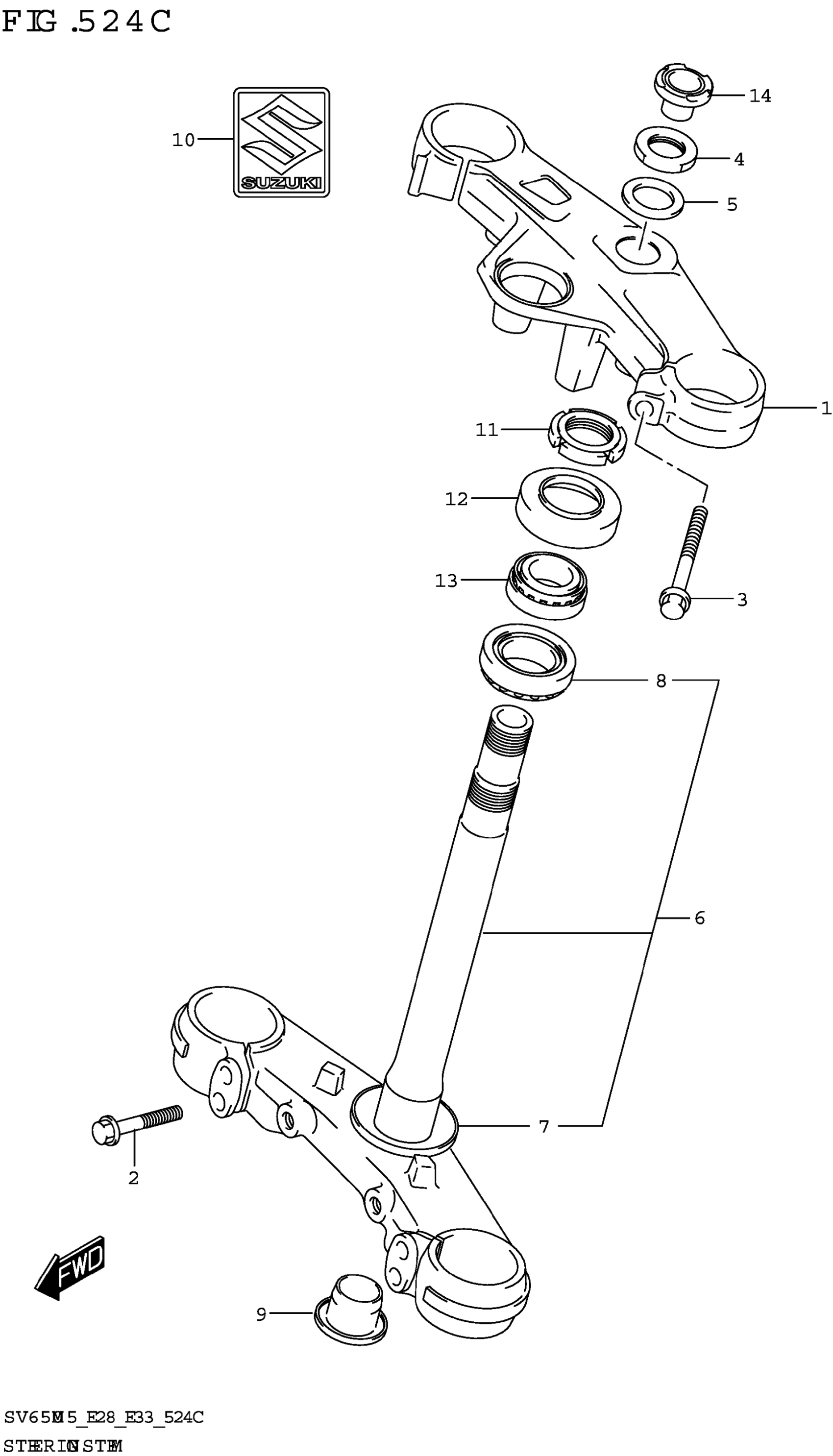
STEERING STEM (SV650XA:(E28))
Suzuki SV650AM5(E28) (2025) STEERING STEM (SV650XA:(E28)) Diagram
#
Description
Price
STEERING STEM (SV650XA:(E28))
#
Edit ride
