Partiron

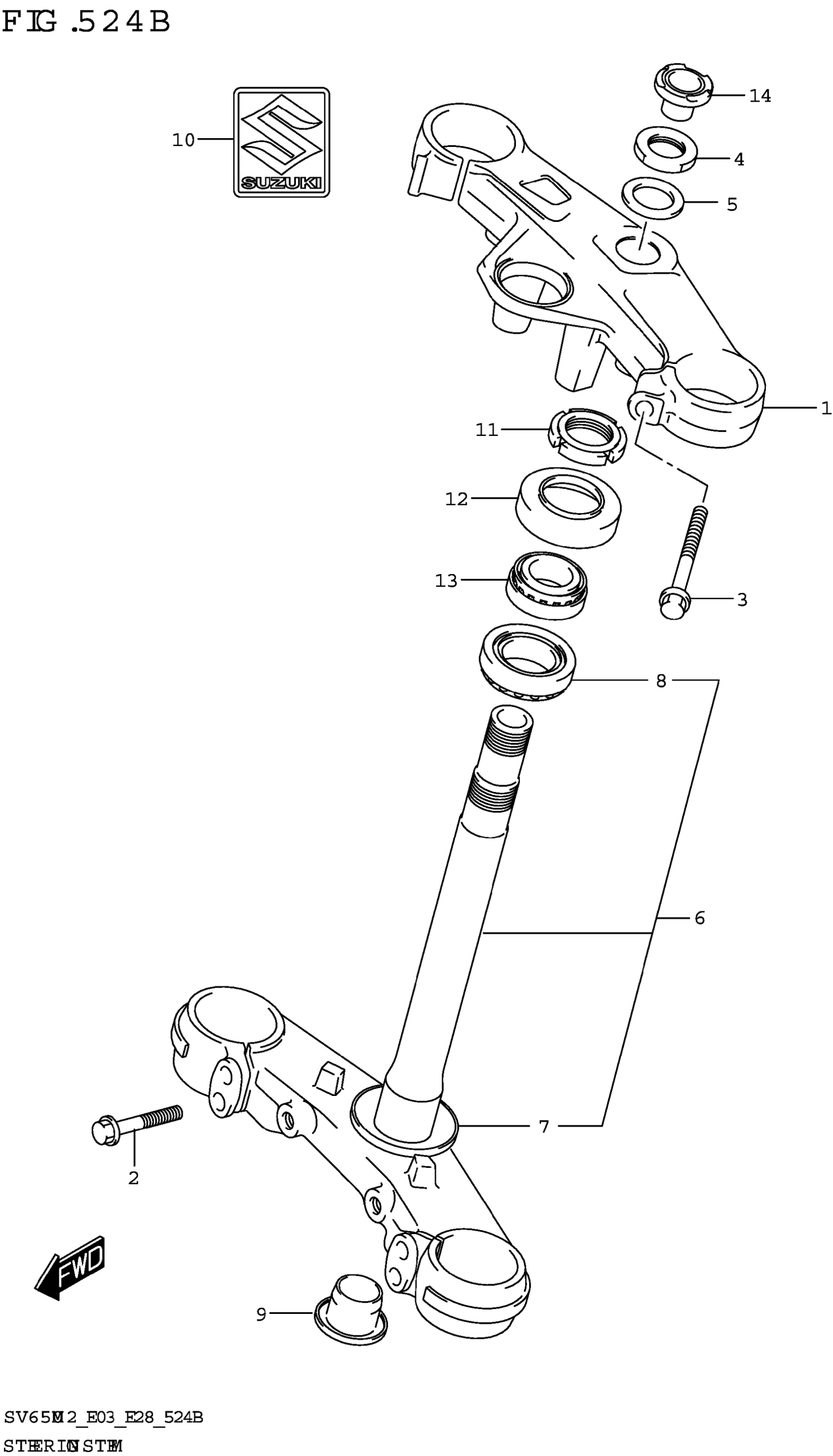
Suzuki SV650AM2 (2022) STEERING STEM (SV650XA) Diagram

#

Description
Price

1

BRACKET,UPPER

51311-44HB0

$169.60

2

BOLT

51328-44H00

$5.63

3

.BOLT,BRACKET UPPER

51328-44HB0

$4.45

4

NUT

51353-13K00

$10.67

5

WASHER

51356-13K00

$3.08

6

BRACKET,UNDER (BLACK)

51410-44HB0-291

$417.40

7

.SEAL,STEERING LWR (30.1X56X4

51644-12C00

$9.44

8

.BEARING (30X55X17)

09265-30020

$44.41

9

CAP

51482-44H00

$17.83

10

EMBLEM,S

68281-47HA0

$7.77

11

NUT,STEERING STEM

51631-31F10

$16.00

12

SEAL,DUST

51643-40503

$6.15

13

BEARING (25X47X15)

09265-25038

$45.57

14

CAP,STEERING STEM

51344-23K10

$5.38