- Partiron
- OEM Parts
- Suzuki
- Motorcycle
- 2018
- SV650AL8 (2018)
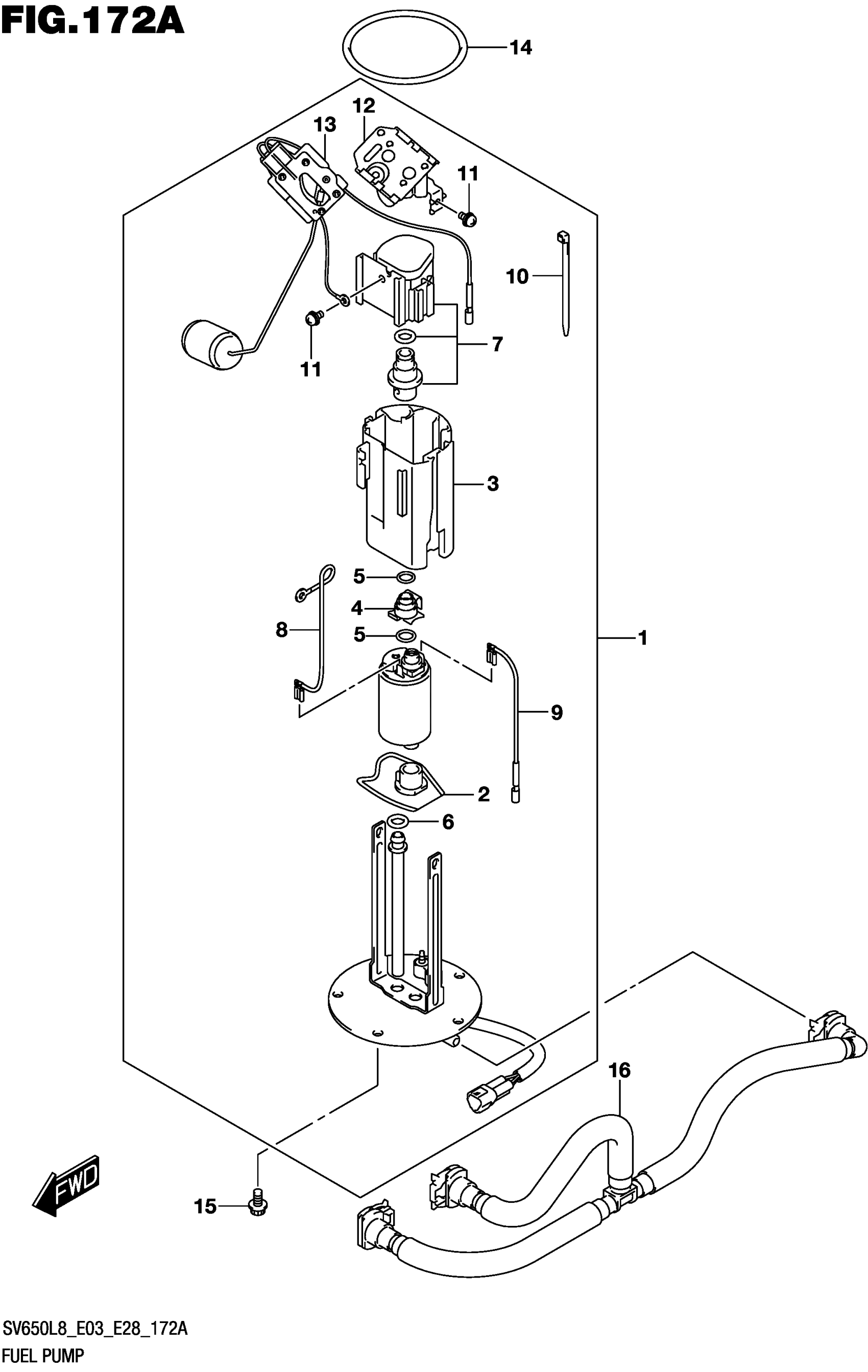
FUEL PUMP
Suzuki SV650AL8 (2018) FUEL PUMP Diagram
#
Description
Price
8
.WIRE,EARTH
15114-14J00
Unavailable
9
.WIRE,LEAD
15115-08J00
Unavailable
10
.BINDER
15151-31J00
Unavailable
