- Partiron
- OEM Parts
- Suzuki
- Motorcycle
- 2007
- SV650 (2007)
REAR SWINGING ARM
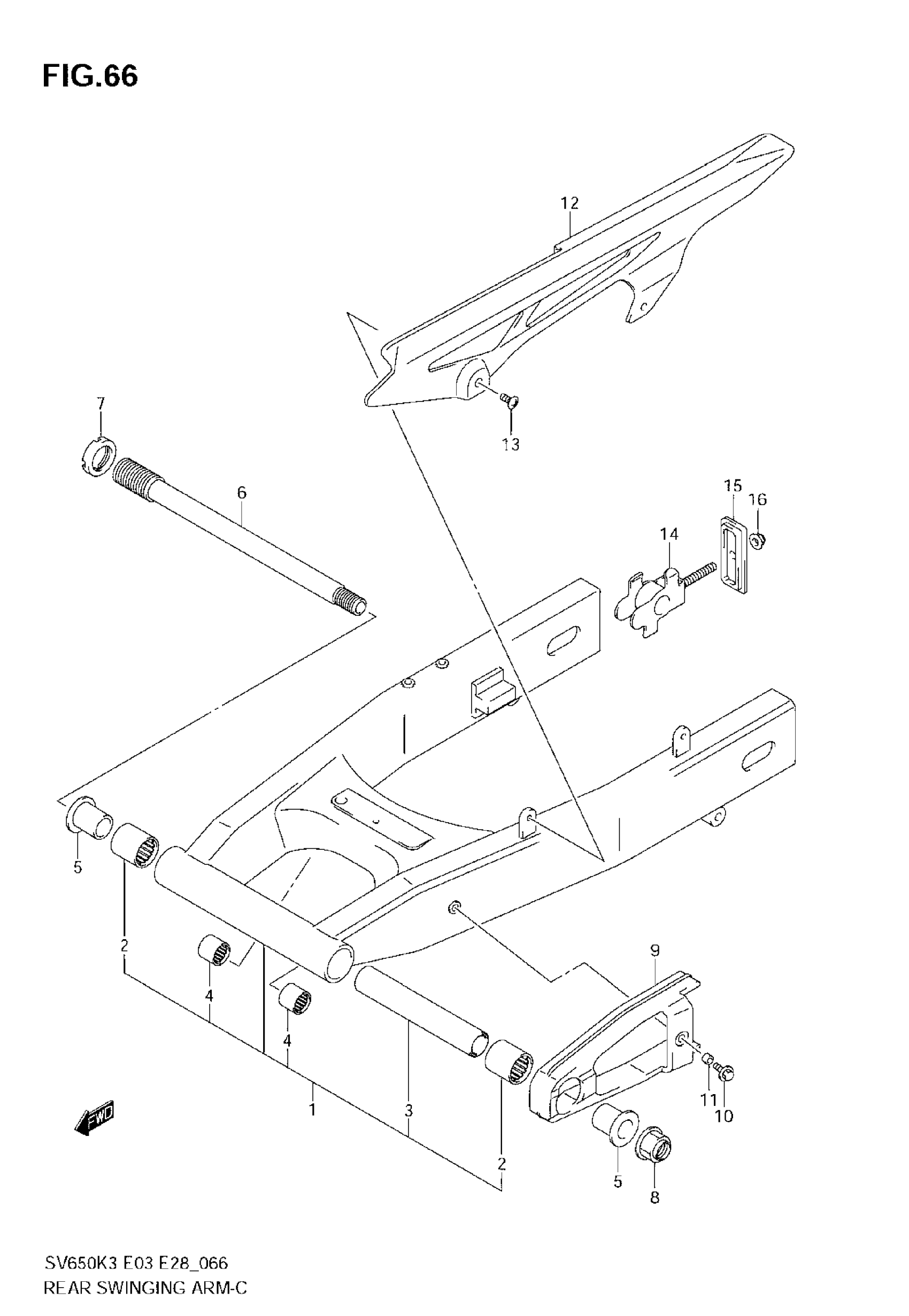
Suzuki SV650 (2007) REAR SWINGING ARM Diagram
#
Description
Price
1
SWINGING ARM ASSY, REAR | SV650K3
61000-17G00
Unavailable
1
SWINGING ARM ASSY, REAR | SV650SK3
61000-17G10
Unavailable
1
SWINGING ARM ASSY, REAR | SV650K4
61000-17G20
Unavailable
1
SWINGING ARM ASSY, REAR | SV650SK4
61000-17G30
Unavailable
1
SWINGING ARM ASSY, REAR | SV650K5/K6/K7
61000-17G40-YAP
Unavailable
1
SWINGING ARM ASSY, REAR | SV650SK5/SK6/SK7
61000-17G50-YAP
Unavailable
1
SWINGING ARM ASSY, REAR | SV650AK7/SAK7; Includes Item(s) 2 - 4
61000-17G60-YAP
Unavailable
3
SPACER, CENTER
09180-20113
Unavailable
6
SHAFT, PIVOT
61211-17G00
Unavailable
