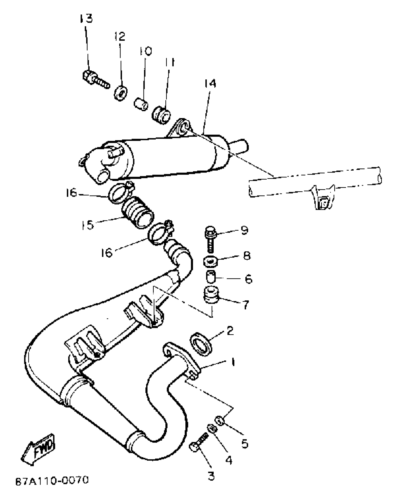
Yamaha SV125P (SNOSPORT) 1990 EXHAUST Diagram
#
Description
Price
1
EXHAUST PIPE ASSEMBLY L
87A-14610-00-00
Unavailable
2
GASKET, EXHAUST PIPE
87A-14613-00-00
Unavailable
14
SILENCER, EXHAUST
87A-14753-00-00
Unavailable
16
CLAMP, HOSE
90460-37130-00
Unavailable
