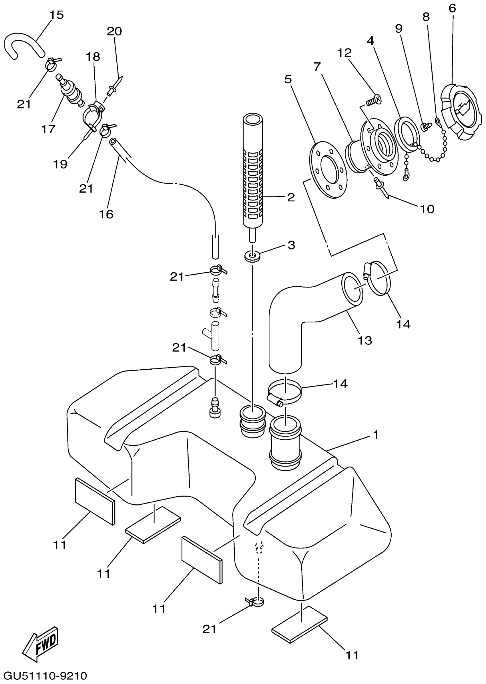
Yamaha SV1200Z (SUV1200) GU53 2001 OIL TANK Diagram
#
Description
Price
1
TANK, OIL
GU5-U775B-01-00
Unavailable
2
FILTER
F0D-6775C-01-00
Unavailable
3
PACKING (T:10MM)
F0D-6775E-01-00
Unavailable
4
PACKING, OIL CAP
GJ3-U778C-00-00
Unavailable
5
PACKING, OIL FILLER
GJ3-U778E-00-00
Unavailable
6
CAP, OIL FILLER
GJ3-U778B-00-00
Unavailable
7
SOCKET, OIL FILLER
GJ3-U778D-00-00
Unavailable
8
CHAIN BALL
EU0-U7835-00-00
Unavailable
9
SCREW,TAPPING (EU0)
97780-40110-00
Unavailable
10
. RIVET, BLIND
90267-40935-00
Unavailable
11
MAT 2
GJ1-U759C-00-00
Unavailable
12
SCREW, FLAT HEAD TAPPING
FX1-67869-00-00
Unavailable
13
HOSE, OIL FILLER
GU5-U776C-00-00
Unavailable
14
BAND, HOSE 52
90601-152U3-00
Unavailable
15
HOSE
FJ0-U2158-00-00
Unavailable
16
HOSE, AIR VENT 3
GP7-U7856-00-00
Unavailable
17
. ROLL OVER VALVE
FJ0-67766-00-00
Unavailable
18
CLAMP COMP (EU0)
90600-91736-00
Unavailable
19
CLAMP
90464-32801-00
Unavailable
20
RIVET, BLIND
90267-48802-00
Unavailable
21
CLAMP
90465-10098-00
Unavailable
