- Partiron
- OEM Parts
- Yamaha
- waverunner
- 2000
- SV1200Y (SUV1200) GU52 2000
JET UNIT 1
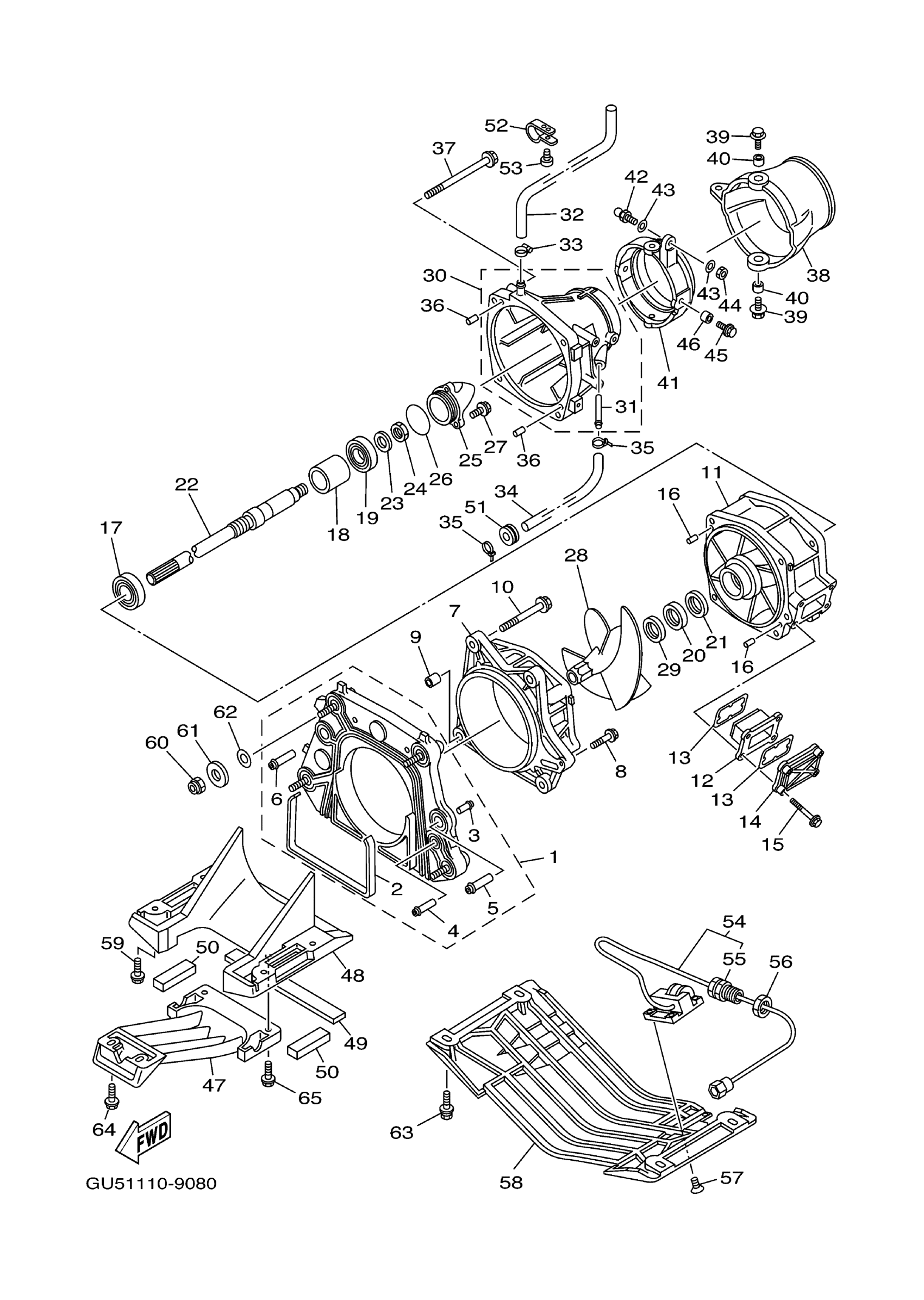
Yamaha SV1200Y (SUV1200) GU52 2000 JET UNIT 1 Diagram
#
1
PLATE, TRANSOM
66G-G5831-03-00
Unavailable
2
. FELT, PACKING
66V-51367-10-00
Unavailable
3
. NIPPLE
65A-R1129-00-00
Unavailable
4
. NIPPLE
66G-51129-00-00
Unavailable
5
. NIPPLE
66V-51129-10-00
Unavailable
6
. NIPPLE
66G-51129-10-00
Unavailable
7
HOUSING, IMPELLER
6CR-R1312-00-00
Unavailable
8
BOLT, WITH WASHER
90119-06894-00
Unavailable
10
BOLT, WITH WASHER
90119-10811-00
Unavailable
11
DUCT, IMPELLER
66V-51315-01-00
Unavailable
12
FILTER
66V-46882-00-00
Unavailable
13
. O-RING
66V-42414-00-00
Unavailable
14
COVER, WATER INLET 1
66V-45214-00-00
Unavailable
15
BOLT,WITH WASHER
90119-06898-00
Unavailable
16
PIN, DOWEL (614)
93606-12019-00
Unavailable
17
BEARING (6K8)
93306-205U1-00
Unavailable
18
SPACER 1
65V-45538-00-00
Unavailable
19
BEARING
93306-304XB-00
Unavailable
20
OIL SEAL
93101-28M66-00
Unavailable
21
OIL SEAL
93101-28002-00
Unavailable
22
SHAFT, DRIVE
66V-45511-00-00
Unavailable
23
WASHER
9299R-16600-00
Unavailable
24
NUT
95317-16700-00
Unavailable
25
CAP KIT
65A-R1326-10-KT
Unavailable
26
. O-RING
93210-46M16-00
Unavailable
27
BOLT,WITH WASHER
90119-06890-00
Unavailable
28
IMPELLER
66G-R1321-00-00
Unavailable
29
SPACER
66V-R1348-10-00
Unavailable
30
NOZZLE
66V-51318-00-94
Unavailable
31
. NIPPLE,HOSE
63M-51334-00-00
Unavailable
32
HOSE (L450)
90445-16M08-00
Unavailable
33
BAND, HOSE 18
90601-118UF-00
Unavailable
34
HOSE (L380)
90445-14M25-00
Unavailable
35
CLAMP
90465-10098-00
Unavailable
36
PIN, DOWEL (614)
93606-12019-00
Unavailable
37
BOLT, WITH WASHER
90119-10807-00
Unavailable
38
NOZZLE, DEFLECTOR
66V-R1313-01-00
Unavailable
39
BOLT, WITH WASHER
90119-08852-00
Unavailable
40
COLLAR(6R7)
90387-08M06-00
Unavailable
41
RING, TRIM
66G-51190-00-94
Unavailable
42
STUD, JOINT BALL
GH3-U146E-00-00
Unavailable
43
WASHER,PLATE
90201-068M4-00
Unavailable
44
NUT
9538R-06700-00
Unavailable
45
BOLT, WITH WASHER
90119-08852-00
Unavailable
46
COLLAR(6R7)
90387-08M06-00
Unavailable
47
SCREEN, INTAKE
66V-51333-00-94
Unavailable
48
DUCT, INTAKE
66V-51311-00-94
Unavailable
49
FELT, PACKING
66V-R1367-00-00
Unavailable
50
FELT, PACKING 2
66V-R1368-00-00
Unavailable
51
GROMMET
90480-279U1-00
Unavailable
52
CLIP, NYLON 18
90600-918U3-00
Unavailable
53
SCREW, TAPPING
97780-50620-00
Unavailable
54
SENSOR SPEED
GJ1-U8K31-03-00
Unavailable
55
CONNECTOR, CABLE
EU0-67267-00-00
Unavailable
56
. NUT, DRAIN 1
EU0-62241-30-00
Unavailable
57
SCREW(617)
98780-05012-00
Unavailable
58
PLATE 2
F0D-U273B-00-00
Unavailable
59
BOLT, WITH WASHER
90119-08829-00
Unavailable
60
NUT, NYLON
9572R-10300-00
Unavailable
61
WASHER, PLATE
90201-10940-00
Unavailable
62
SHIM
GU5-67354-00-00
Unavailable
63
BOLT, WITH WASHER
90119-08829-00
Unavailable
64
BOLT, WITH WASHER
90119-06896-00
Unavailable
65
BOLT, WITH WASHER
90119-069UC-00
Unavailable
