- Partiron
- OEM Parts
- Yamaha
- waverunner
- 2003
- SV1200B (SUV1200) GU57 2003
ELECTRICAL 2
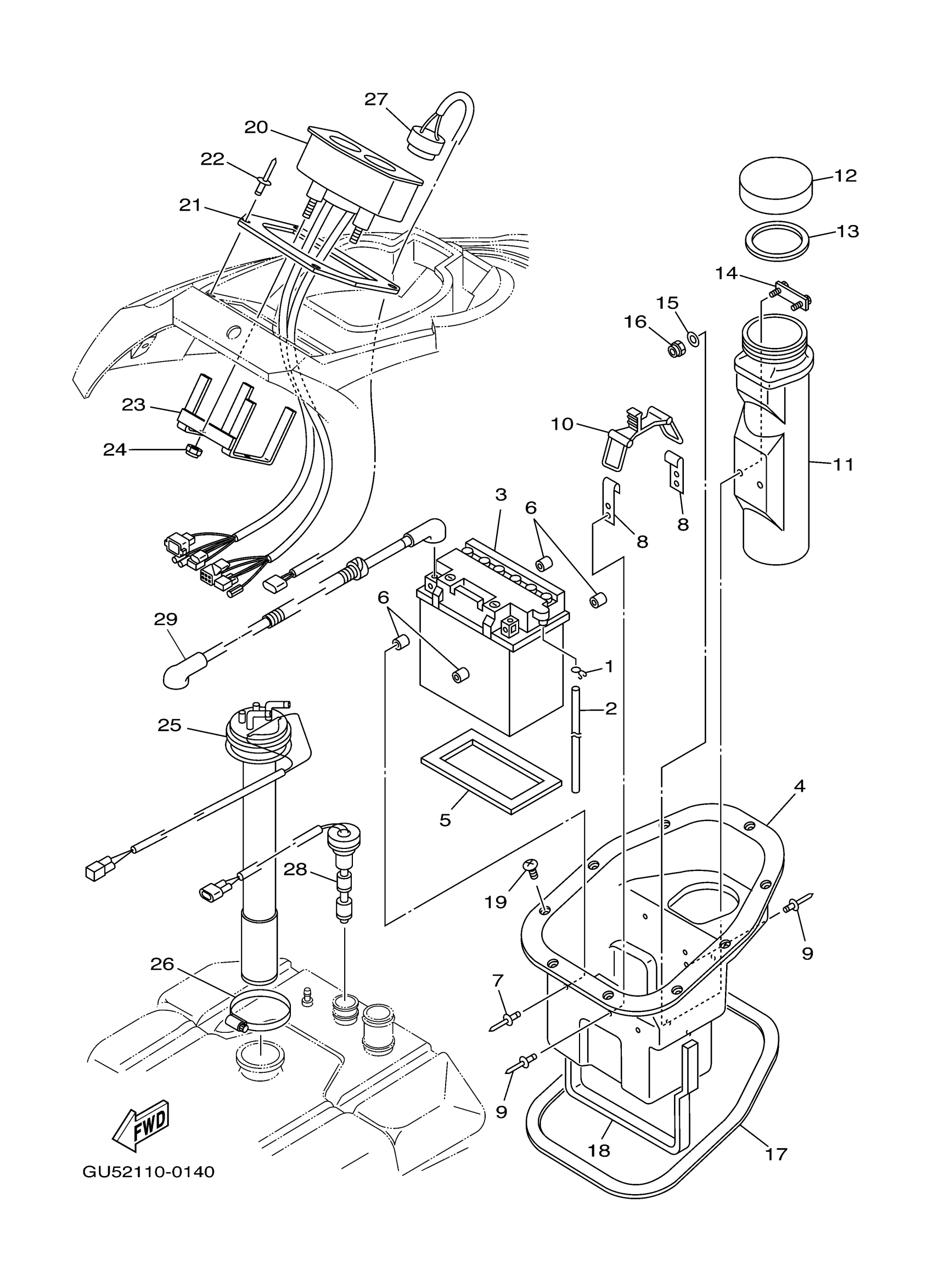
Yamaha SV1200B (SUV1200) GU57 2003 ELECTRICAL 2 Diagram
#
1
CLIP
90467-089U1-00
Unavailable
2
HOSE, AIR VENT 3
GU2-U785H-00-00
Unavailable
3
YB16CLB YUASA BATTERY
YB1-6CLB0-00-00
Unavailable
4
BATTERY CASE COMP.
GK5-68211-00-00
Unavailable
5
PAD, BATTERY
F1S-U8221-00-00
Unavailable
6
CUSHION, RUBBER
GK5-63768-00-00
Unavailable
7
RIVET, BLIND
90267-48802-00
Unavailable
8
HOOK A
GA7-65772-00-00
Unavailable
10
BAND, BATTERY
GA7-68218-00-00
Unavailable
11
BOX, FIRE EXTINGUISHER
GK5-65983-00-00
Unavailable
12
. CAP, CASE
EW2-65912-00-00
Unavailable
13
. PACKING, CASE
EW2-65913-00-00
Unavailable
14
BRACKET FIRE EXTINGUISHER
GK5-6593H-00-00
Unavailable
15
WASHER
9299R-05200-00
Unavailable
16
NUT, FLANGE
9572R-05300-00
Unavailable
17
PACKING 48
90656-67105-00
Unavailable
18
PACKING 10
GK5-6266J-00-00
Unavailable
19
SCREW, TAPPING
97780-50014-00
Unavailable
20
METER ASSY
F0D-6820A-31-00
Unavailable
21
PLATE
GU5-68376-00-00
Unavailable
22
RIVET, BLIND
90267-489UE-00
Unavailable
23
BRACKET, METER
F0D-68238-10-00
Unavailable
24
NUT, FLANGE
9572R-05300-00
Unavailable
25
SENDER, FUEL
F0V-U824B-04-00
Unavailable
26
BAND, HOSE 62
90601-162U5-00
Unavailable
27
BUZZER
F1S-68341-00-00
Unavailable
28
SENDER, OIL
F0D-U824C-10-00
Unavailable
29
WIRE, LEAD
63N-82117-00-00
Unavailable
