- Partiron
- OEM Parts
- Suzuki
- Motorcycle
- 2007
- SV1000 (2007)
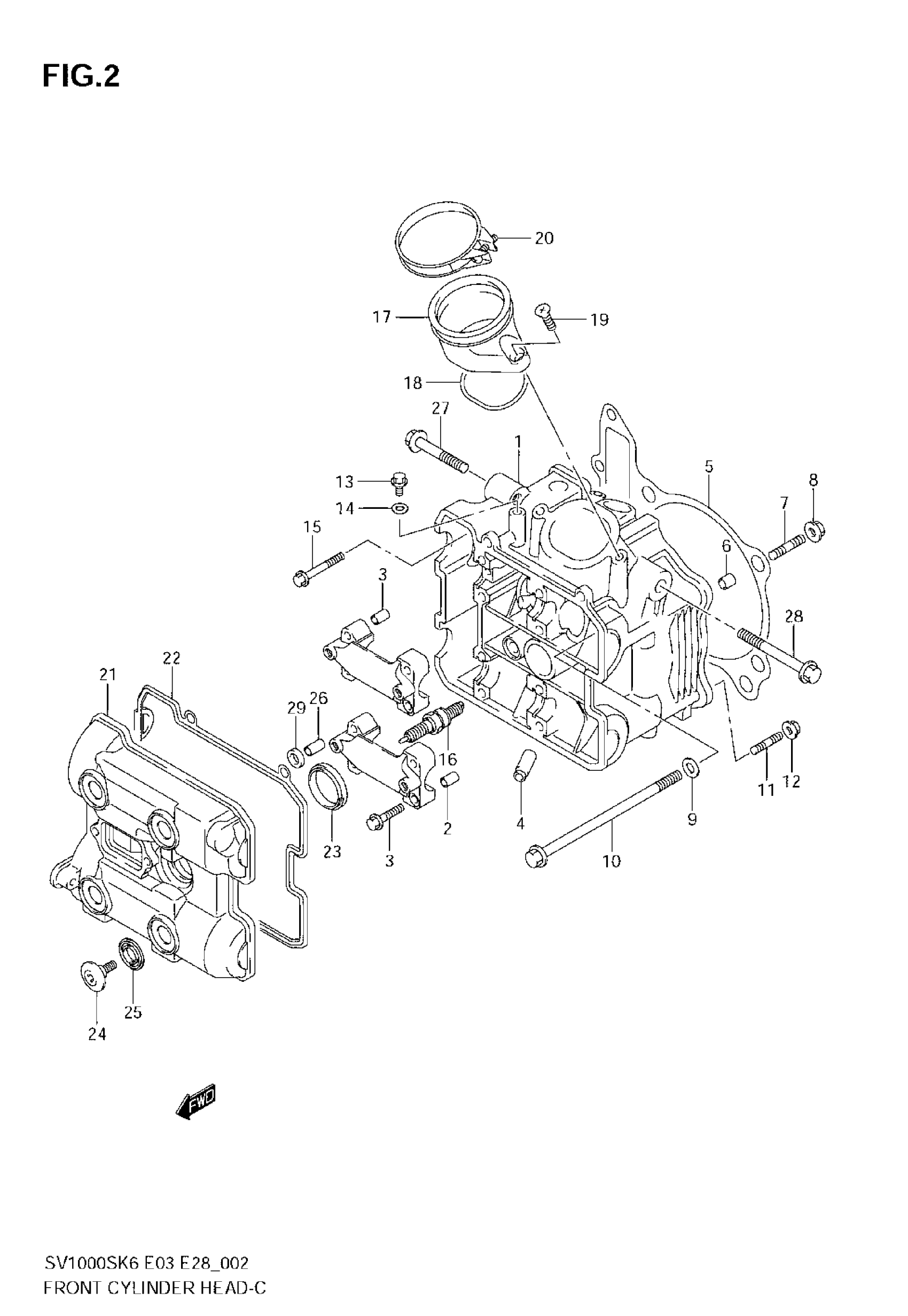
FRONT CYLINDER HEAD
Suzuki SV1000 (2007) FRONT CYLINDER HEAD Diagram
#
Description
Price
1
HEAD ASSY, CYLINDER FRONT | Includes Item(s) 2 - 3
11100-16G00
Unavailable
21
COVER, CYLINDER HEAD
11171-16G00
Unavailable
