- Partiron
- OEM Parts
- Suzuki
- Motorcycle
- 2005
- SV1000 (2005)
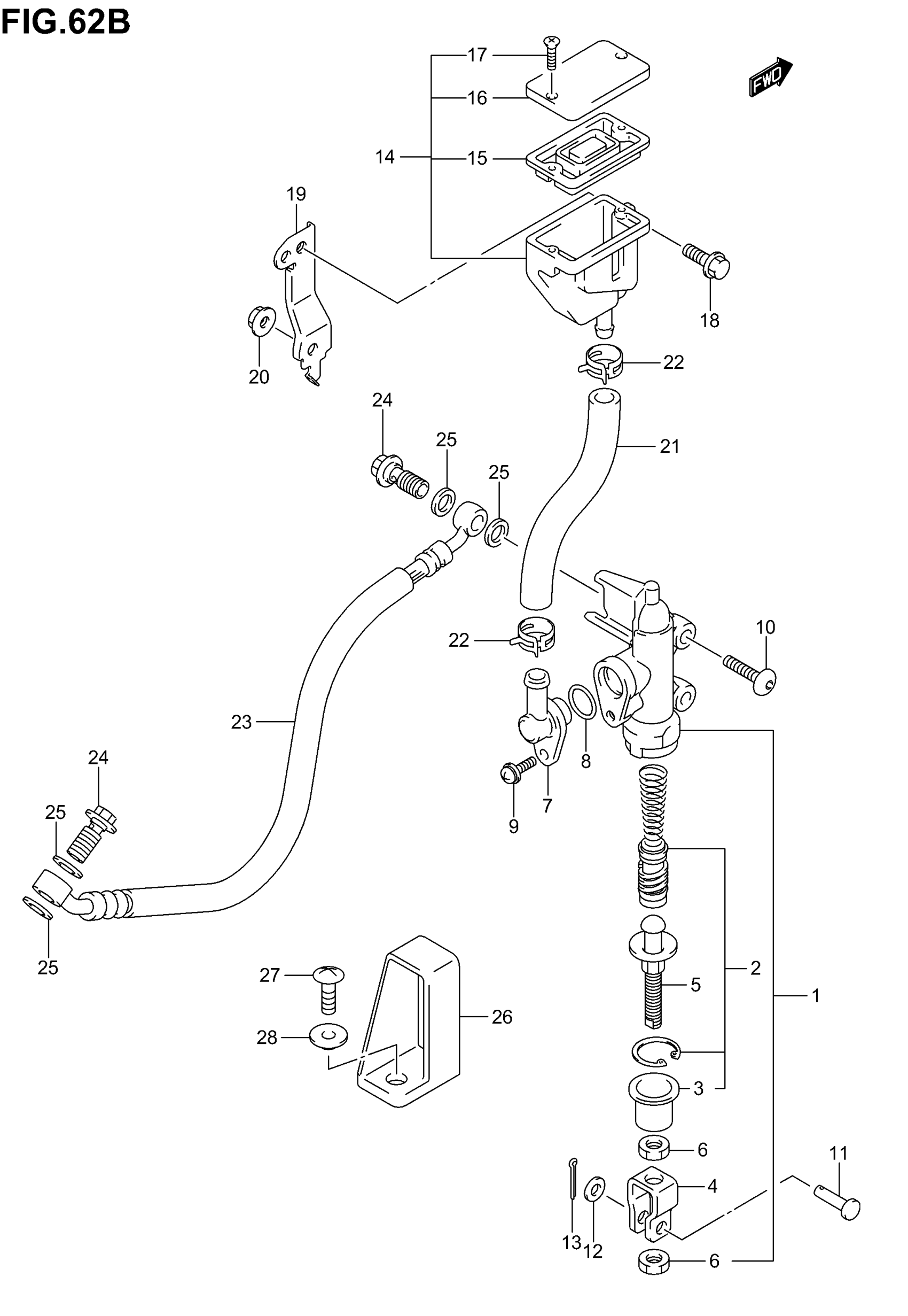
REAR MASTER CYLINDER (SV1000SK5)
Suzuki SV1000 (2005) REAR MASTER CYLINDER (SV1000SK5) Diagram
#
Description
Price
26
GUIDE, RR BRAKE HOSE
69243-16G00
Unavailable
