- Partiron
- OEM Parts
- Suzuki
- Motorcycle
- 2005
- SV1000 (2005)
REAR MASTER CYLINDER (SV1000SK3)
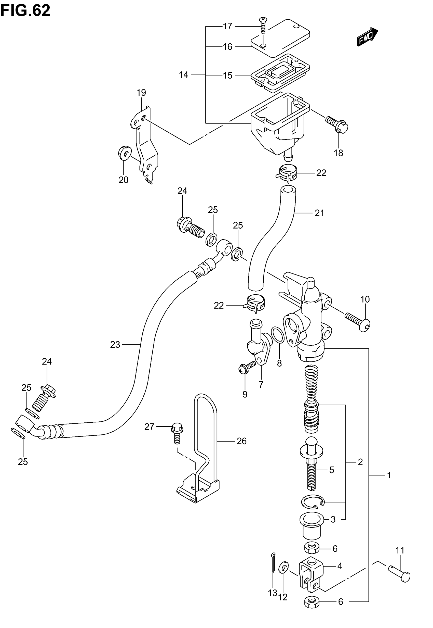
Suzuki SV1000 (2005) REAR MASTER CYLINDER (SV1000SK3) Diagram
#
Description
Price
19
BRACKET, RR RESERVOIR TANK
69750-16G00
Unavailable
20
NUT, BRACKET
09159-10111
Unavailable
21
HOSE, RESERVOIR TANK
69731-16G00
Unavailable
23
HOSE,RR BRAKE This part replaces 69480-16G00.
69480-16G01
Unavailable
26
GUIDE, RR BRAKE HOSE NO.1
69260-16G00
Unavailable
