- Partiron
- OEM Parts
- Suzuki
- Motorcycle
- 2005
- SV1000 (2005)
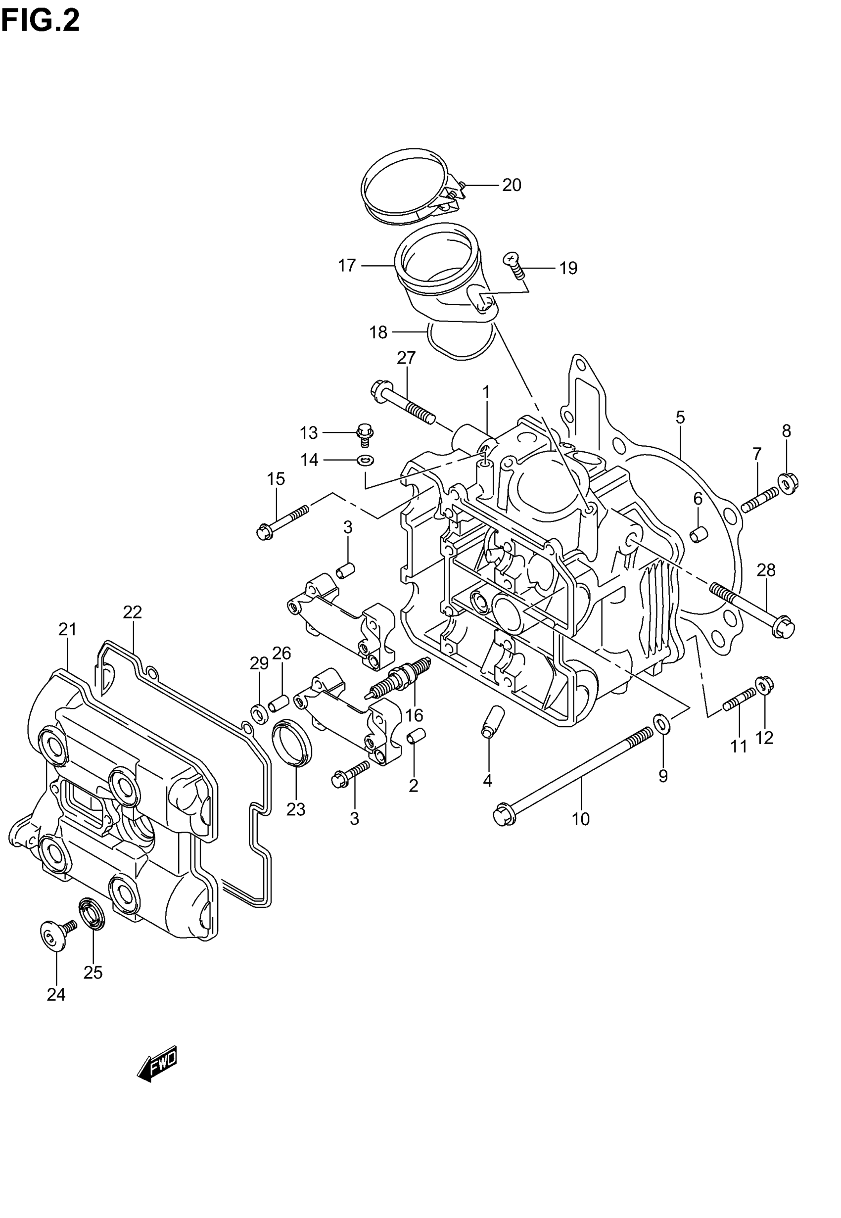
FRONT CYLINDER HEAD
Suzuki SV1000 (2005) FRONT CYLINDER HEAD Diagram
#
Description
Price
1
HEAD ASSY, CYLINDER FRONT | Includes Item(s) 2 - 3
11100-16G00
Unavailable
17
PIPE ASSY,INTAK | MODEL K5; Includes Item(s) 18 This part replaces 13101-16G10.
13101-16G11
$65.73
21
COVER, CYLINDER HEAD
11171-16G00
Unavailable
