- Partiron
- OEM Parts
- Kawasaki
- watercraft
- 1995
- Super Sport XI
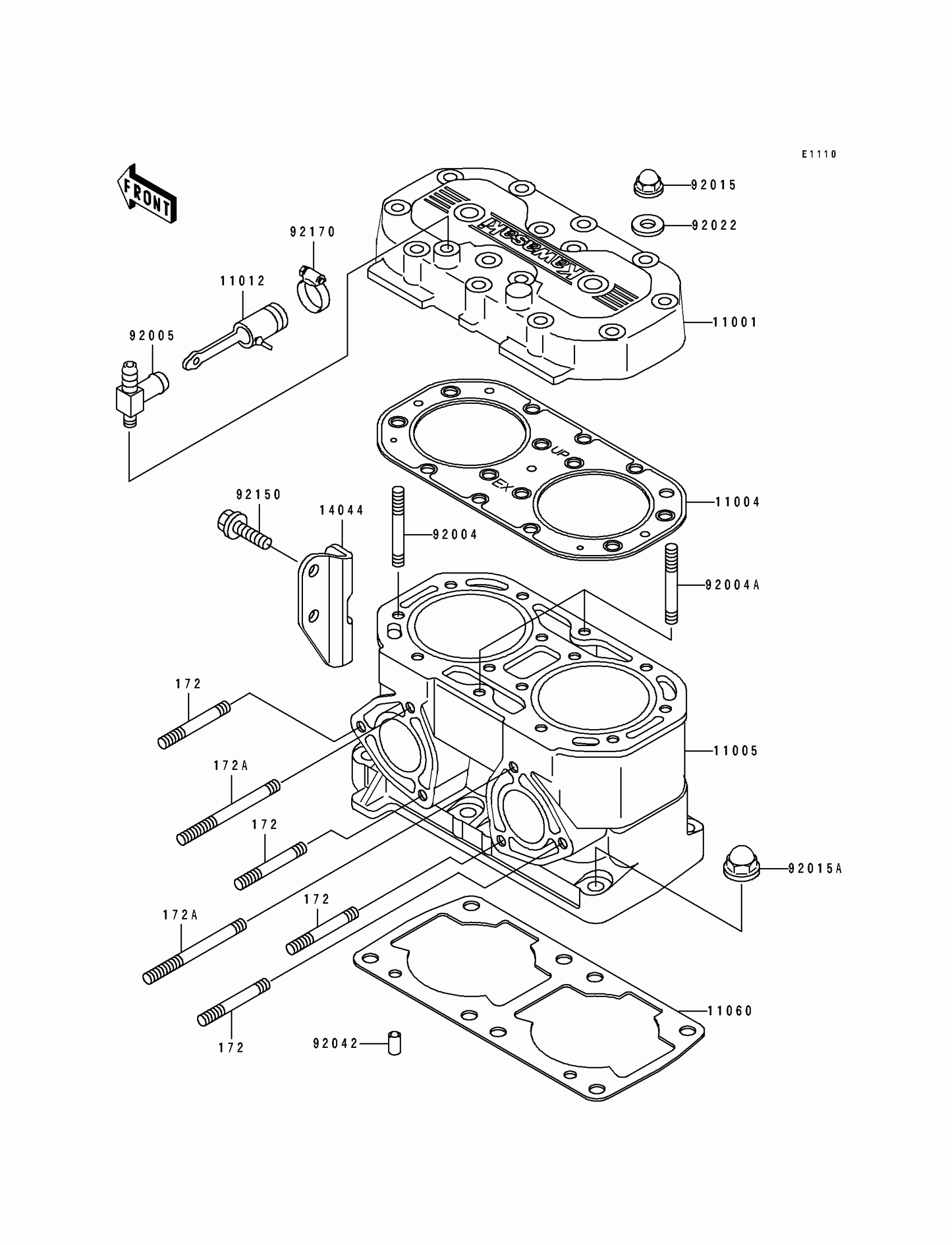
Cylinder Head/Cylinder
Kawasaki Super Sport XI Cylinder Head/Cylinder Diagram
#
Description
Price
11001
HEAD-CYLINDER
11001-3718
Unavailable
11004
GASKET-HEAD
11004-3708
Unavailable
11005
CYLINDER-ENGINE
11005-3722
Unavailable
14044
HOLDER-CABLE
14044-3722
Unavailable
92170
CLAMP
92170-3729
Unavailable
