- Partiron
- OEM Parts
- Polaris
- Motorcycle
- VIC
- 2000
- STANDARD CRUISER - V00CB15DC
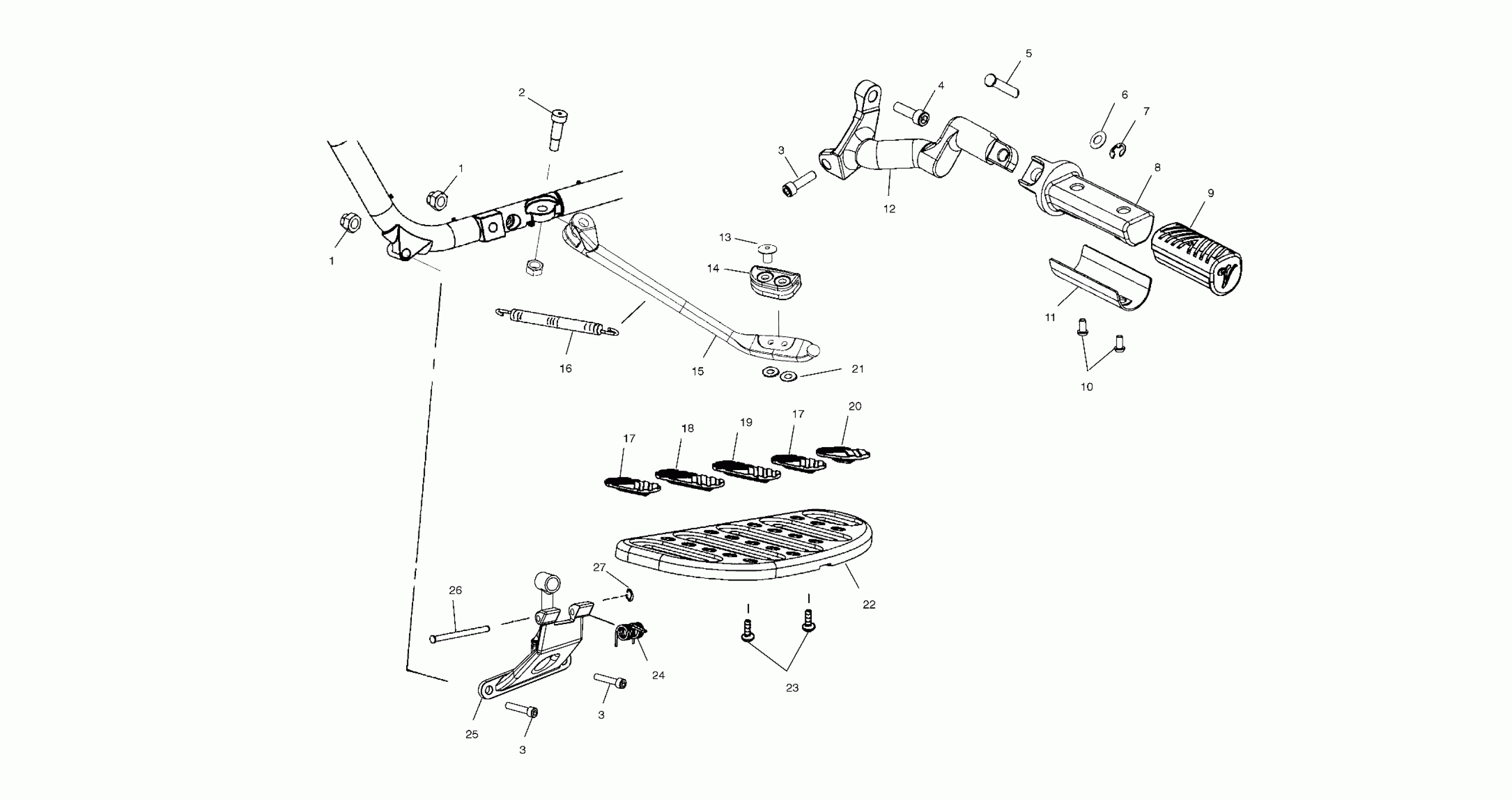
CHASSIS, FLOORBOARD and SIDE STAND - V00CB15DC (4952565256A008)
Polaris STANDARD CRUISER - V00CB15DC CHASSIS, FLOORBOARD and SIDE STAND - V00CB15DC (4952565256A008) Diagram
#
Description
Price
1
NUT (10)
7547039
Unavailable
1
NUT (10)
7547039
Unavailable
2
Screw
7517404
Unavailable
4
SCREW (LH Side Only)
7517554
Unavailable
7
E-CLIP,M8,STEEL(10)
7710493
Unavailable
10
SCR,BTNHD,M8X16
7517767
Unavailable
13
RIVET,TRUSS,HD,SS
7661064
Unavailable
14
PAD,SIDE STAND
5411745
Unavailable
15
STAND-SIDE
5910052
Unavailable
20
PAD,F'BOARD,#5
5411270
Unavailable
22
FLOORBOARD-LH,DRIVER
5132228
Unavailable
22
FLOORBOARD-RH,DRIVER
5132229
Unavailable
25
SUPPORT,FLRBRD,LH,MACH,BLK
5132429-067
Unavailable
26
PIN,LOW.F'BOARD SUPPORT
7661018
Unavailable
27
E-CLIP,M6,STEEL(10)
7710492
Unavailable
