- Partiron
- OEM Parts
- Honda
- MOTORCYCLE
- 2009
- ST1300PAA (09) ST1300PA, JPN, VIN# JH2SC517-9K600001 TO JH2SC517-9K600176
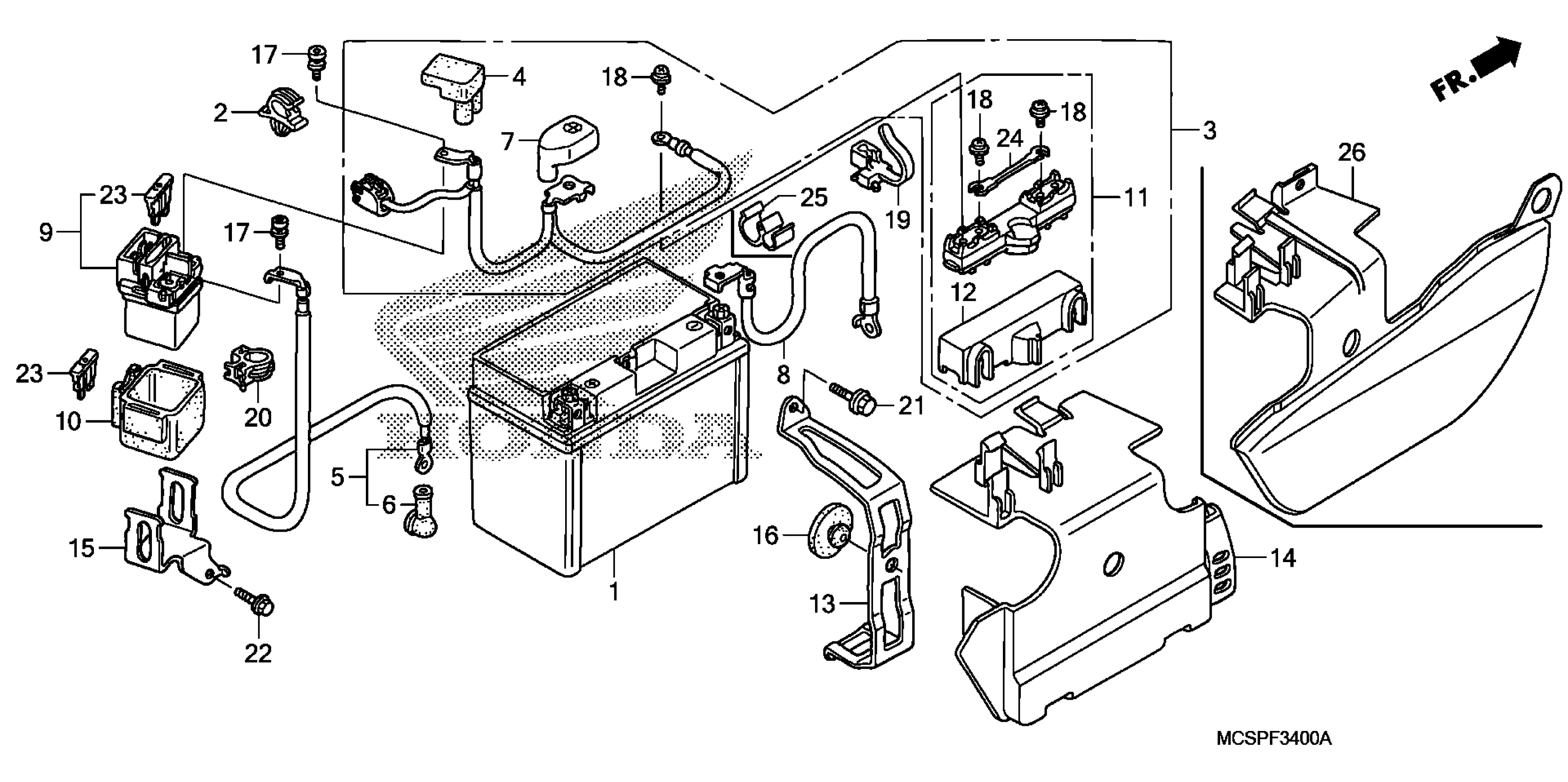
BATTERY
Honda ST1300PAA (09) ST1300PA, JPN, VIN# JH2SC517-9K600001 TO JH2SC517-9K600176 BATTERY Diagram
#
Description
Price
6
COVER, STARTER MOTOR TERMINAL | Use up to Frame SN 2712441. This part replaces 32411-253-000.
32411-230-000
$6.40
