Partiron

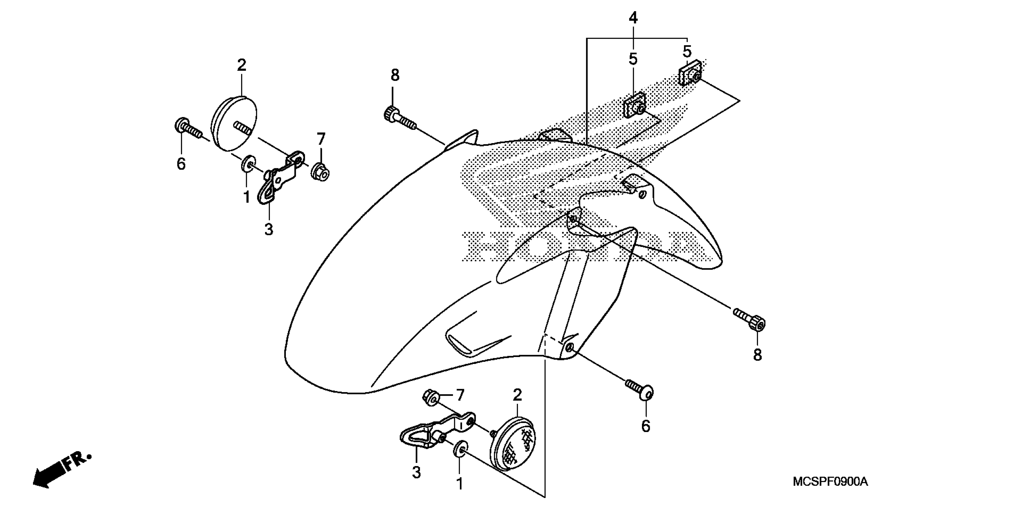
Honda ST1300PAA (07) ST1300PA, JPN, VIN# JH2SC517-7M500001 TO JH2SC517-7M599999 FRONT FENDER Diagram

#

Description
Price

1

WASHER, RUBBER

18325-MBV-000

$1.49

2

REFLECTOR, FR. REFLEX This part replaces 33741-413-013.

33742-HB9-641

$13.14

2

REFLECTOR, FR. REFLEX (AMBER)

33742-HB9-641

$13.14

3

STAY, FR. REFLECTOR

33742-MCS-L00

$6.87

4

FENDER, FR. *NH138* (SHASTA WHITE)

61100-MCS-G00ZD

$282.25

5

NUT, HEADLIGHT SETTING

61304-162-013

$3.47

6

SCREW, PAN (6X20)

90138-MCS-G00

$2.11

7

NUT, FLANGE (6MM)

94050-06000

$1.49

8

BOLT, SOCKET (6X18)

96600-06018-00

$1.49