- Partiron
- OEM Parts
- Honda
- MOTORCYCLE
- 2006
- ST1300AA (06) ST1300A, JPN, VIN# JH2SC514-6M400001
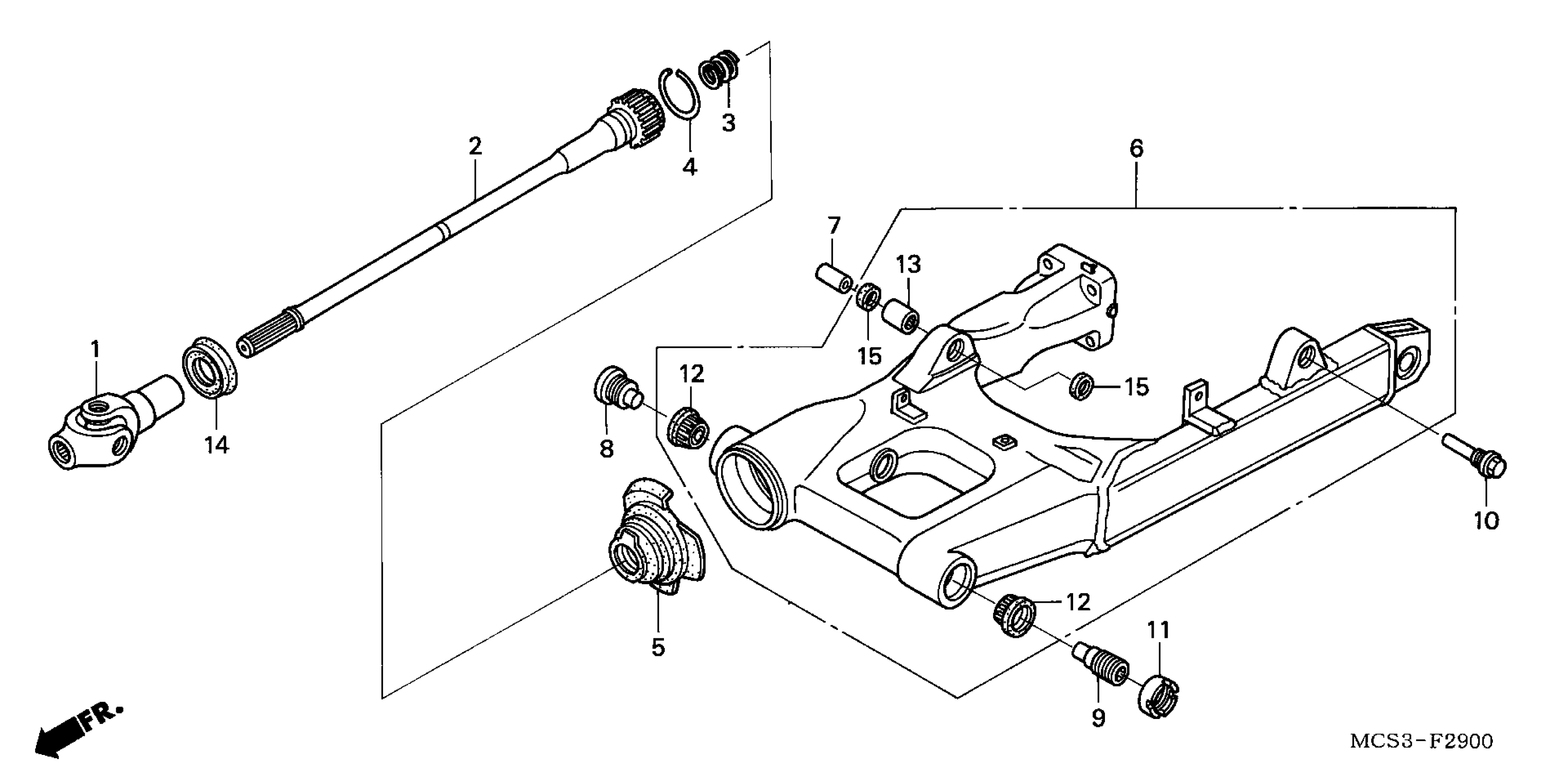
SWINGARM
Honda ST1300AA (06) ST1300A, JPN, VIN# JH2SC514-6M400001 SWINGARM Diagram
#
Description
Price
SWINGARM
#
Edit ride
