- Partiron
- OEM Parts
- Honda
- MOTORCYCLE
- 2006
- ST1300AA (06) ST1300A, JPN, VIN# JH2SC514-6M400001
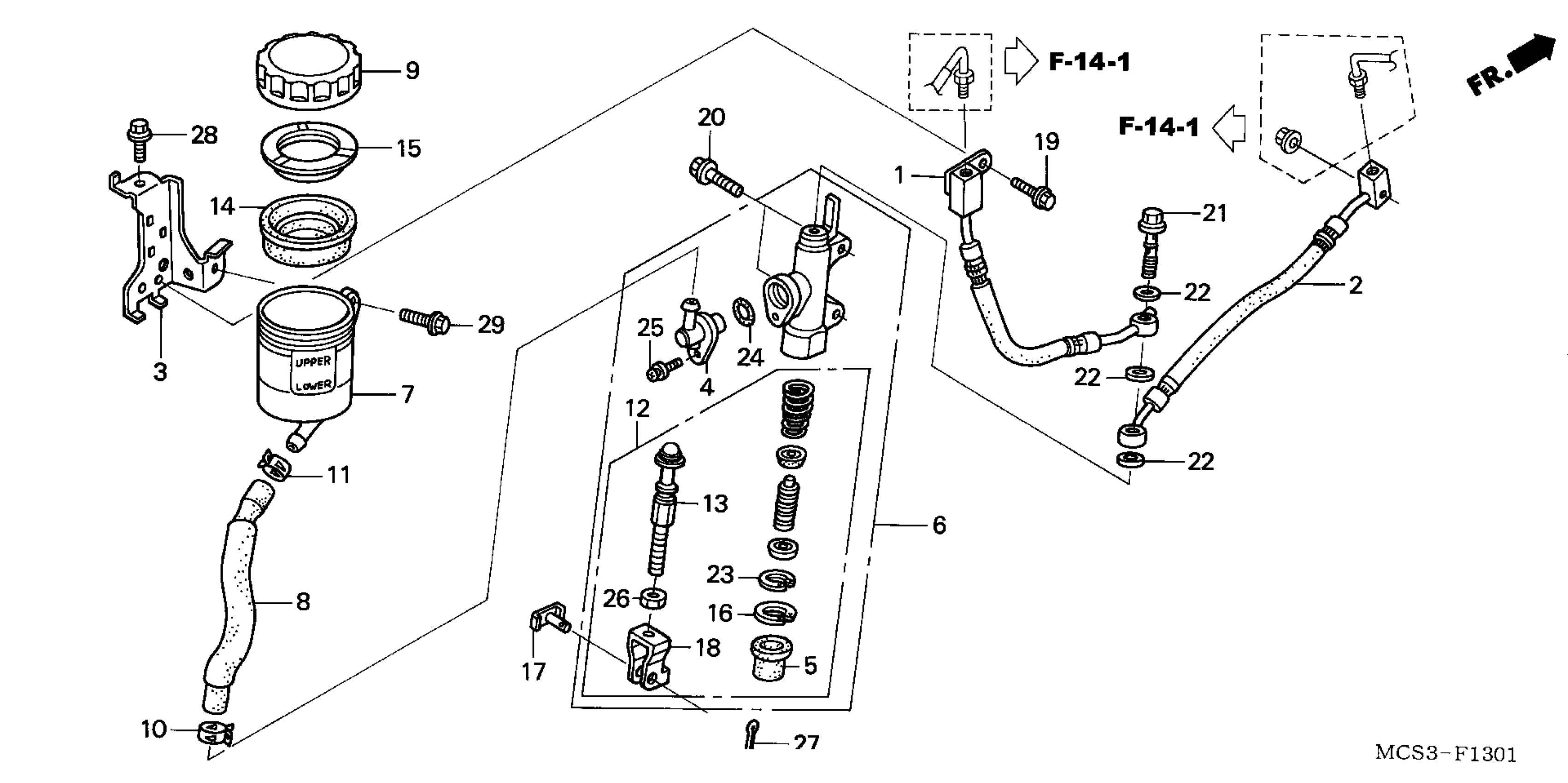
REAR BRAKE MASTER CYLINDER (ST1300A)
Honda ST1300AA (06) ST1300A, JPN, VIN# JH2SC514-6M400001 REAR BRAKE MASTER CYLINDER (ST1300A) Diagram
#
Description
Price
