Partiron

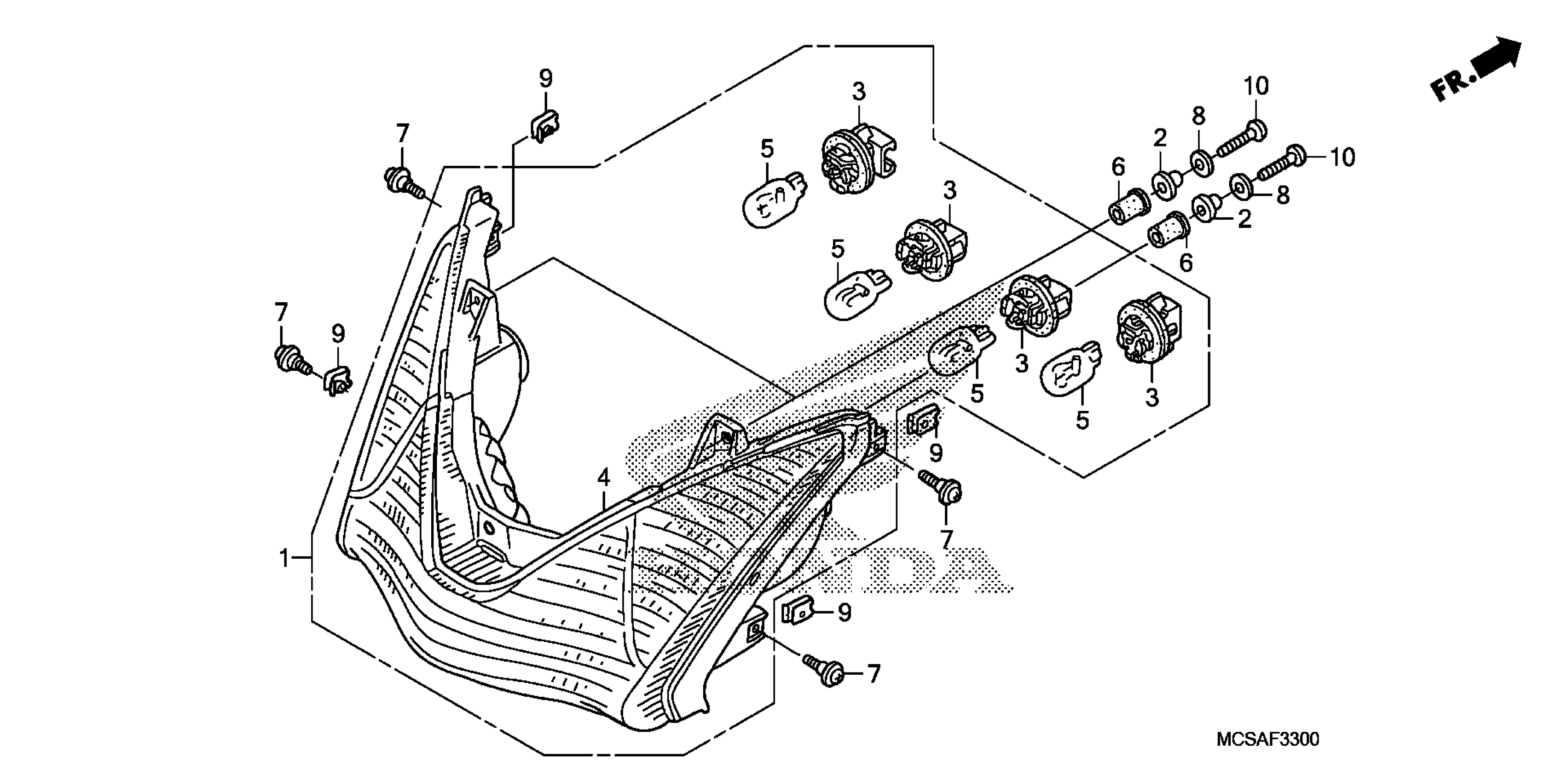
Honda ST1300A (10) MOTORCYCLE, JPN, VIN# JH2SC510-AK800001 REAR COMBINATION LIGHT Diagram

#

Description
Price

1

LIGHT ASSY., RR. COMBINATION (12V 21/5W) (COO)

33700-MCS-305

$340.11

2

COLLAR A, TAILLIGHT

33712-GC2-000

$3.04

3

SOCKET

33720-GZ9-003

$12.97

4

LIGHT UNIT, RR. COMBINATION (COO)

33720-MCS-305

$292.66

5

BULB, WEDGE BASE (12V 21/5W ECE) (STANLEY)

34906-MBB-611

$4.01

6

NUT, COWL SETTING (5MM)

90111-KW3-003

$4.53

7

SCREW, PAN (5X13)

90133-MCS-G00

$1.49

8

WASHER, STOPPER

90483-041-000

$1.92

9

NUT, CLIP (5MM)

90677-KAN-961

$4.07

10

SCREW, PAN (5X20)

93500-05020-0A

$1.49