- Partiron
- OEM Parts
- Honda
- MOTORCYCLE
- 2002
- ST1100A (02) MOTORCYCLE, JPN, VIN# JH2SC260-2M200001
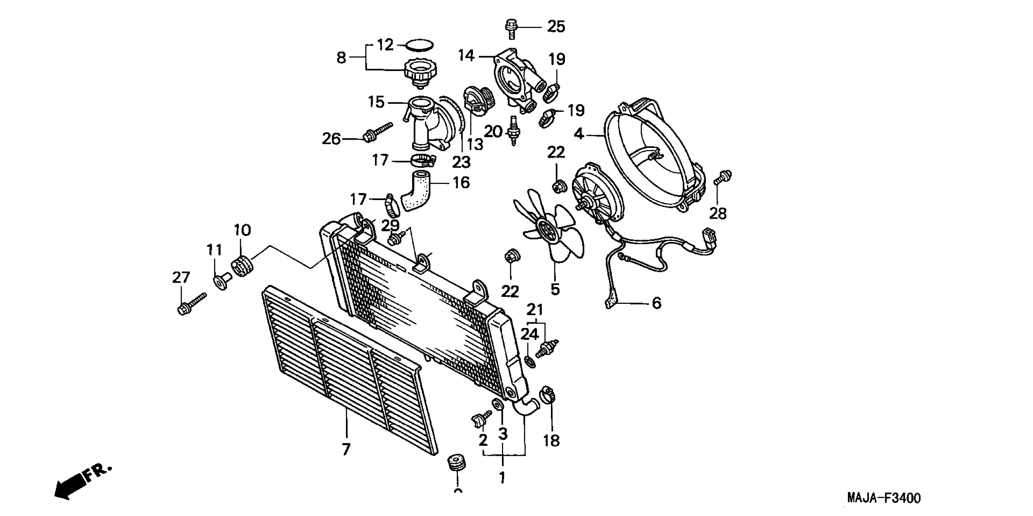
RADIATOR
Honda ST1100A (02) MOTORCYCLE, JPN, VIN# JH2SC260-2M200001 RADIATOR Diagram
#
Description
Price
1
RADIATOR This part replaces 19010-MAJ-G20.
19010-MAJ-G21
Unavailable
2
VALVE, DRAIN (TOYO) This part replaces 19011-PH9-004.
19011-PH9-014
Unavailable
5
FAN, COOLING (TOYO)
19020-MM5-003
Unavailable
6
MOTOR, FAN
19030-MT3-003
Unavailable
12
SEAL, RADIATOR CAP (ENGLISH/FRENCH/JAPANESE) This part replaces 19055-MV9-921.
19055-MV9-881
$9.22
14
CASE, THERMOSTAT
19311-MT3-000
Unavailable
15
FILLER, NECK
19312-MS2-000
Unavailable
