Partiron

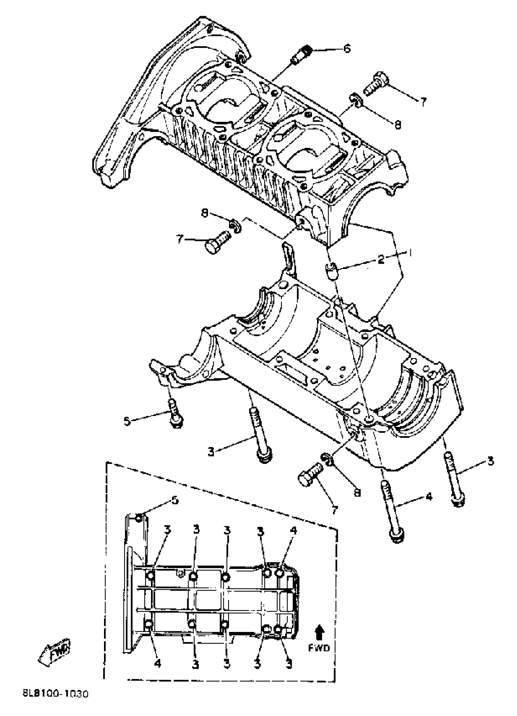
Yamaha SS440H (SS440) 1984 CRANKCASE Diagram

#

Description
Price

1

CRANKCASE ASSY

8H8-15109-08-00

Unavailable

2

PIN, DOWEL

99530-12016-00

$4.89

3

BOLT, FLANGE

95817-08075-00

$4.82

4

BOLT, FLANGE(8BN)

95817-08085-00

$4.08

5

BOLT, FLANGE

95817-06030-00

$4.29

6

JOINT, BREATHER

J38-11116-00-00

$3.80

7

BOLT, HEXAGON

97013-08020-00

$1.16

8

WASHER(JN5)

92907-08100-00

$8.49