- Partiron
- OEM Parts
- Yamaha
- snowmobile
- 1980
- SS440D 1980
OIL PUMP
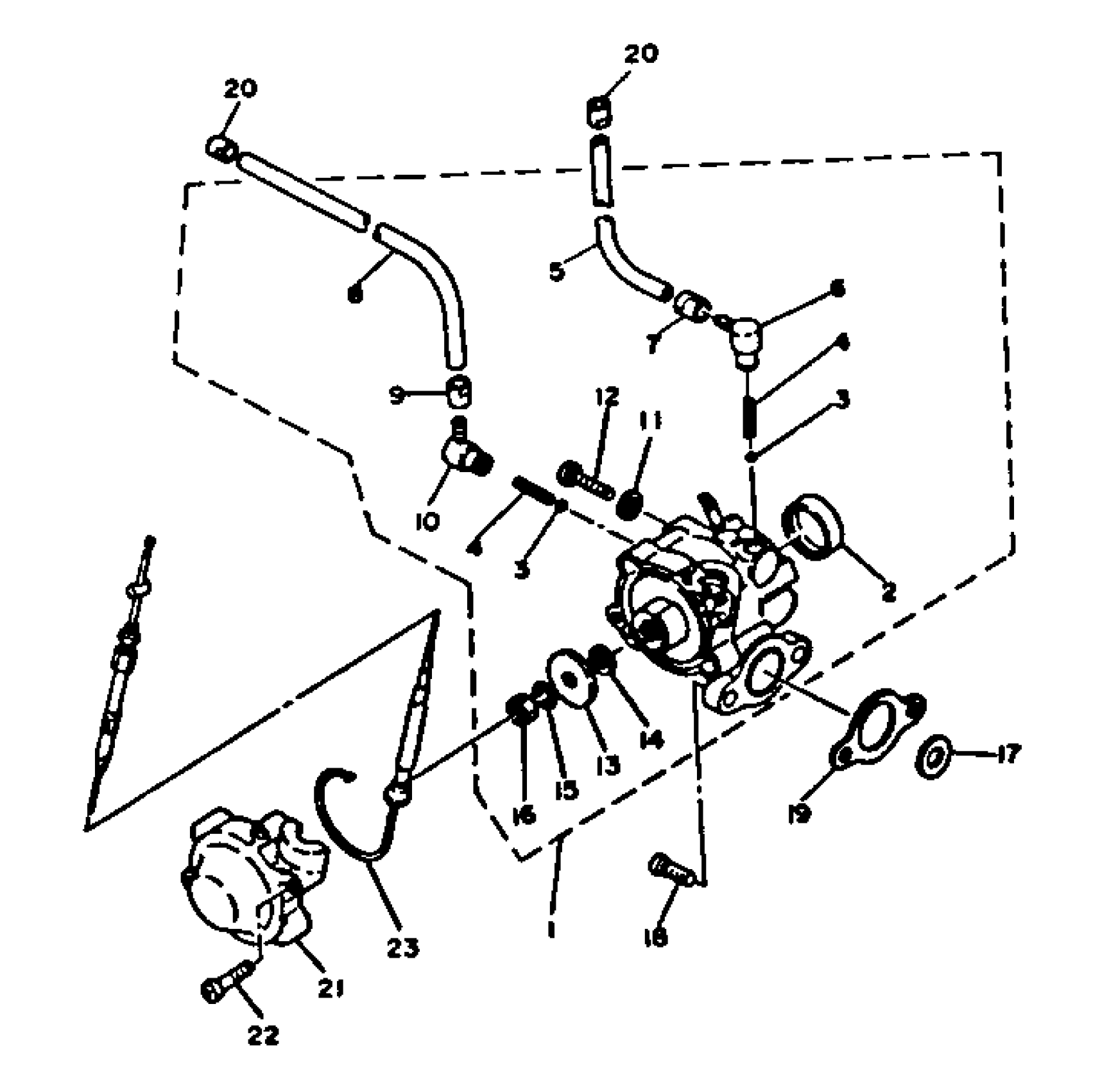
Yamaha SS440D 1980 OIL PUMP Diagram
#
Description
Price
1
OIL PUMP ASSEMBLY
8K4-13101-00-00
Unavailable
2
. PLUG
90338-21100-00
Unavailable
8
HOSE (L700)
90445-05M07-00
Unavailable
12
. SCREW, PAN HEAD
90157-04009-00
Unavailable
13
PLATE, ADJUSTING
137-13138-01-00
Unavailable
14
SHIM,PLUNGER
137-13137-00-10
Unavailable
15
YBS67-5 WASHER, SPRING
92990-05100-00
Unavailable
16
NUT, HEXAGON (663)
95380-05600-00
Unavailable
17
WASHER, PLATE (1E7)
90201-08624-00
Unavailable
18
SCREW, PAN HEAD(6B0)
97885-05016-00
Unavailable
19
GASKET, PUMP CASE
126-13116-01-00
Unavailable
21
COVER, ADJUST PULLEY
8A5-13146-01-00
Unavailable
22
SCREW, PAN HEAD
98507-04018-00
Unavailable
23
PUMP CABLE ASS''Y
8H8-26320-01-00
Unavailable
