Yamaha SRX700SF (SRX700) 8DW4 2001 SHROUD Diagram
#
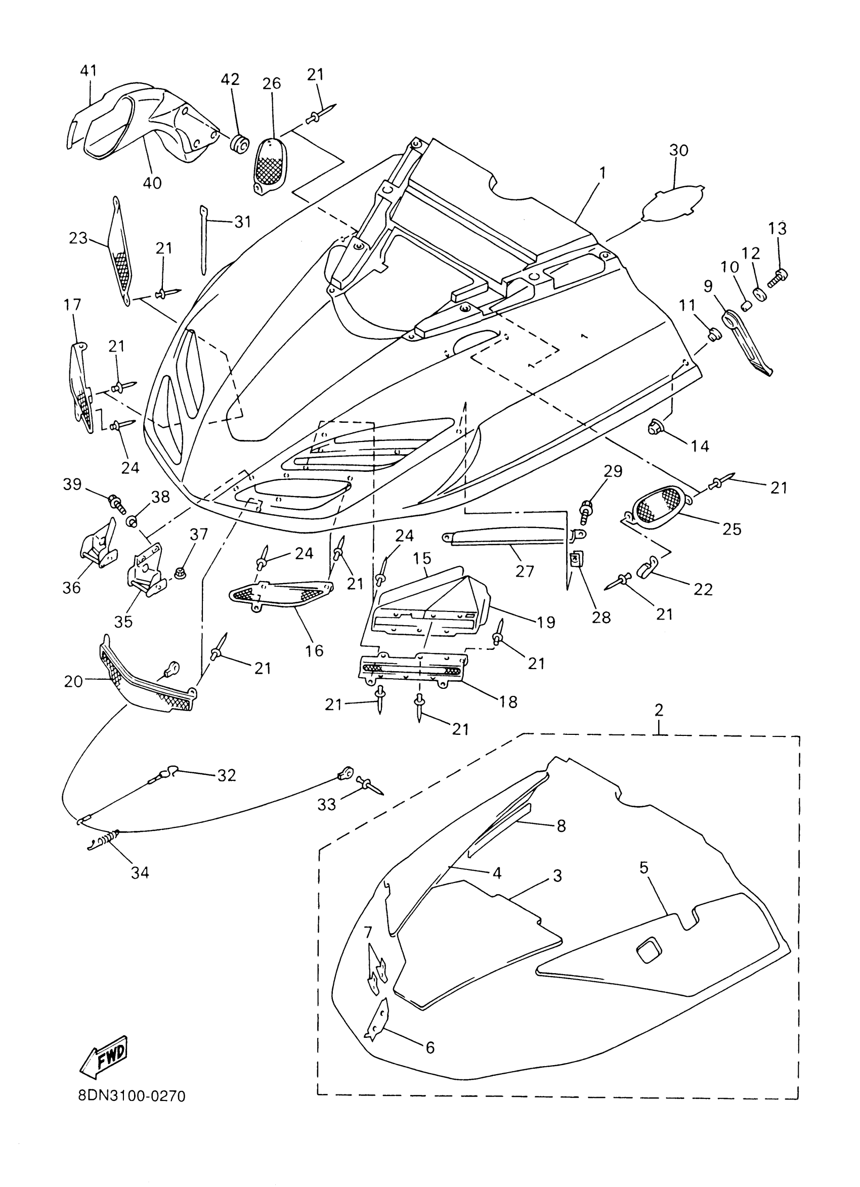
1
SHROUD
8DF-77111-00-00
Unavailable
2
LINING SET
8DF-W7726-10-00
Unavailable
3
. DAMPER, NOISE 12
8DF-77272-00-00
Unavailable
4
. DAMPER, NOISE 13
8DF-77273-00-00
Unavailable
5
. DAMPER, NOISE 16
8DF-77276-00-00
Unavailable
6
TAPE 1
8DF-7717E-00-00
Unavailable
7
TAPE 3
8DF-7717G-00-00
Unavailable
8
TAPE 4
8DF-7717H-00-00
Unavailable
15
LINING, SHROUD 6
8DF-77266-00-00
Unavailable
16
LOUVER 1
8DF-77131-00-00
Unavailable
17
LOUVER 2
8DF-77132-00-00
Unavailable
18
LOUVER 3
8DF-77133-00-00
Unavailable
19
DUCT, COOLER
8DF-21851-00-00
Unavailable
20
LOUVER 4
8CR-77134-00-00
Unavailable
21
RIVET, BLIND(41R)
90267-48104-00
Unavailable
22
CLAMP(51Y)
90465-08277-00
Unavailable
23
LOUVER 4
8DF-77134-00-00
Unavailable
24
RIVET, BLIND(8CJ)
90267-48182-00
Unavailable
25
LOUVER 5
8DF-77109-00-00
Unavailable
26
LOUVER 6
8DF-77108-00-00
Unavailable
27
PLATE 1
8DF-77185-01-00
Unavailable
28
NUT, SPRING(4ES)
90183-06069-00
Unavailable
29
BOLT, FLANGE
95817-06016-00
Unavailable
30
PLATE 2
8DF-77186-00-00
Unavailable
31
CLAMP
90464-13077-00
Unavailable
32
STOPPER, SHROUD
8CR-77118-00-00
Unavailable
33
RIVET, BLIND
90267-48018-00
Unavailable
34
CLAMP, ROD
89A-77159-00-00
Unavailable
35
HINGE ASSY
8DF-77140-00-00
Unavailable
36
HINGE ASSY 2
8DF-7714A-00-00
Unavailable
37
NUT, FLANGE(4MV)
95707-06500-00
Unavailable
38
COLLAR (8G8)
90387-06681-00
Unavailable
39
BOLT, FLANGE
95817-06016-00
Unavailable
40
DUCT
8DF-77194-00-00
Unavailable
41
SHIELD, HEAT
8DF-2199H-00-00
Unavailable
42
GROMMET (431)
90480-14052-00
Unavailable
