Partiron

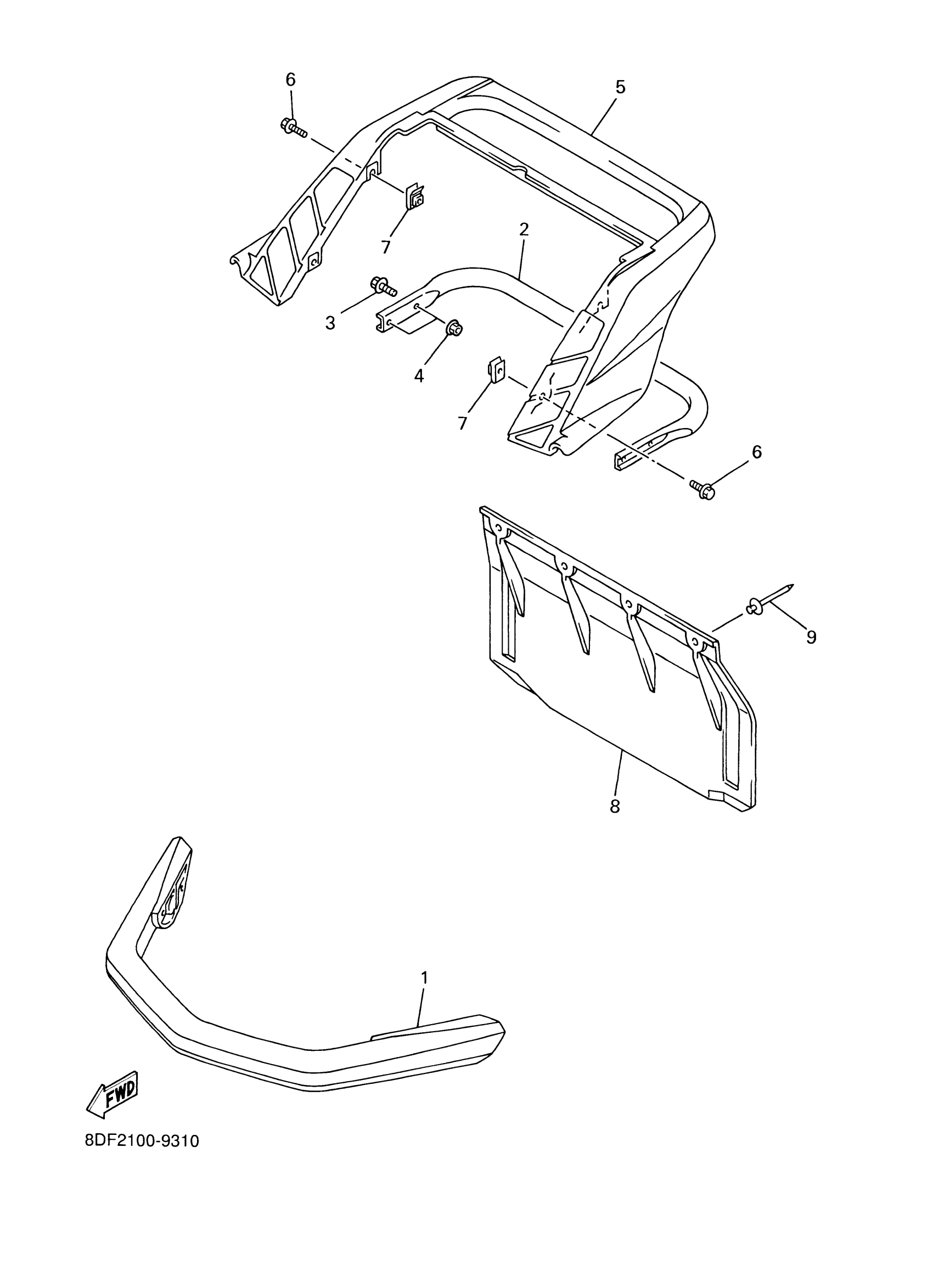
Yamaha SRX700SD (SRX700 OHLINS) 8DN32 2000 BUMPER Diagram

#

Description
Price

1

BUMPER, FRONT 1

8CR-77511-10-00

Unavailable

2

BUMPER, REAR 1

8DF-77541-00-00

Unavailable

3

BOLT, SMALL FLANGE

95027-08016-00

$8.49

4

NUT, FLANGE(JN5)

95707-08500-00

$3.13

5

BUMPER, REAR 2

8CR-77542-10-00

Unavailable

6

BOLT, FLANGE

95817-06016-00

$2.75

7

NUT, SPRING(4ES)

90183-06069-00

Unavailable

8

FLAP

8GW-77595-00-00

Unavailable

9

RIVET, BLIND(8CH)

90267-47187-00

$2.34