Yamaha SRX700SB (SRX700S (OHLINS FR SHOCKS)) 8DW1 1998 OIL TANK Diagram
#
Description
Price
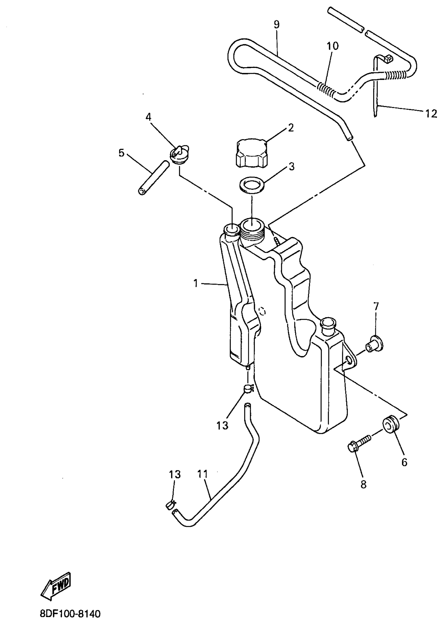
1
TANK, OIL
8CR-21751-00-00
Unavailable
8
BOLT, FLANGE
95817-06025-00
Unavailable
9
TUBE, FLEXIBLE VINYL(8AT)
91A30-05125-00
Unavailable
