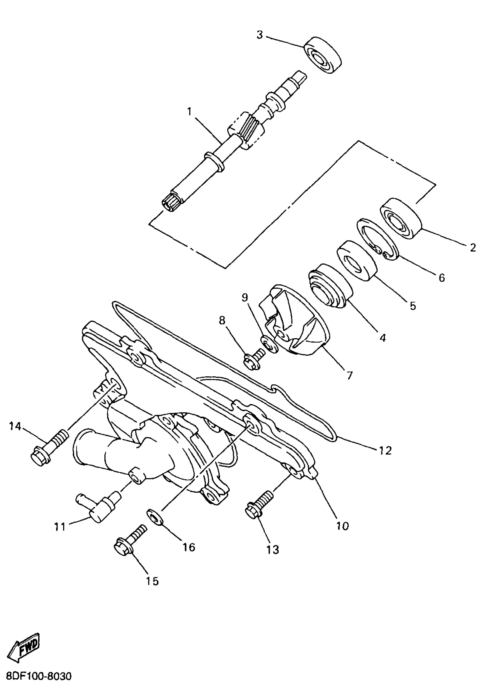
Yamaha SRX600SB (SRX600S (OHLINS FR SHOCKS)) 1998 WATER PUMP Diagram
#
Description
Price
1
GEAR, IMPELLER SHAFT
8DF-12459-00-00
Unavailable
7
IMPELLER, WATER PUMP
8CH-12451-02-00
Unavailable
9
WASHER, SEAL
90210-06001-00
Unavailable
10
COVER, HOUSING
8CH-12422-10-00
Unavailable
11
JOINT 1
8CH-12469-00-00
Unavailable
15
BOLT, FLANGE
95814-06025-00
Unavailable
16
GASKET (4V2)
90430-06166-00
Unavailable
