- Partiron
- OEM Parts
- Yamaha
- snowmobile
- 1980
- SRX440D 1980
CARBURETOR
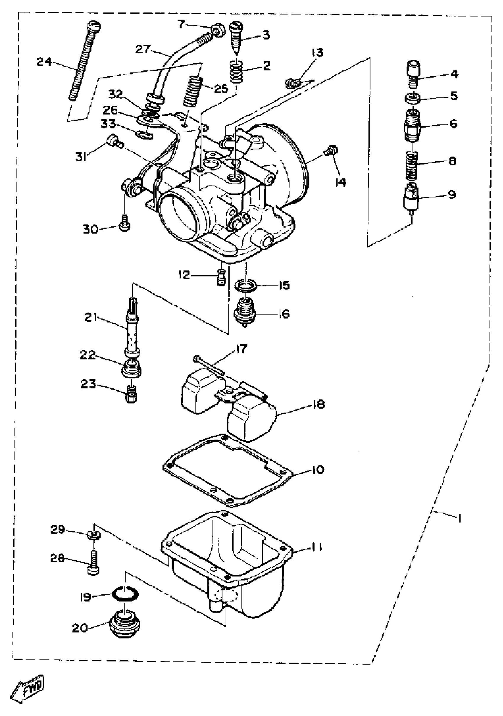
Yamaha SRX440D 1980 CARBURETOR Diagram
#
Description
Price
1
CARBURETOR ASSEMBLY 1
8K2-14101-00-00
Unavailable
2
. SPRING, AIR ADJUSTING
137-14134-00-00
Unavailable
3
. SCREW, AIR ADJUSTING
8G8-14123-00-00
Unavailable
10
. GASKET, FLOAT CHMBR
8G8-14184-00-00
Unavailable
11
BODY, FLOAT CHMBR 1
(8K2-14181-00-00)
Unavailable
12
JET, PILOT (# 80)
193-14142-80-00
Unavailable
12
. JET, PILOT #85
193-14142-85-00
Unavailable
14
. PILOT JET, AIR
8K2-14172-13-00
Unavailable
15
WASHER,VALVE SEAT
239-14195-00-00
Unavailable
16
. NEEDLE VALVE ASSEMBLY
8K2-14190-15-00
Unavailable
17
PIN, FLOAT
537-14186-00-00
Unavailable
18
FLOAT
(8K2-14185-00-00)
Unavailable
19
O-RING (541)
558-14147-00-00
Unavailable
20
PLUG, SCREW
500-14115-00-00
Unavailable
21
. NOZZLE, MAIN
8K2-14141-00-00
Unavailable
22
. COVER, MAIN JET
8G8-14152-00-00
Unavailable
23
JET, MAIN #230
137-14143-46-A1
Unavailable
23
JET, MAIN #240
137-14143-48-A1
Unavailable
23
JET, MAIN #250
137-14143-50-A1
Unavailable
23
JET, MAIN #260
137-14143-52-00
Unavailable
23
JET, MAIN #270
137-14143-54-A1
Unavailable
24
SCREW, PAN HEAD
98580-05550-00
Unavailable
