- Partiron
- OEM Parts
- Yamaha
- snowmobile
- 1979
- SRX440C 1979
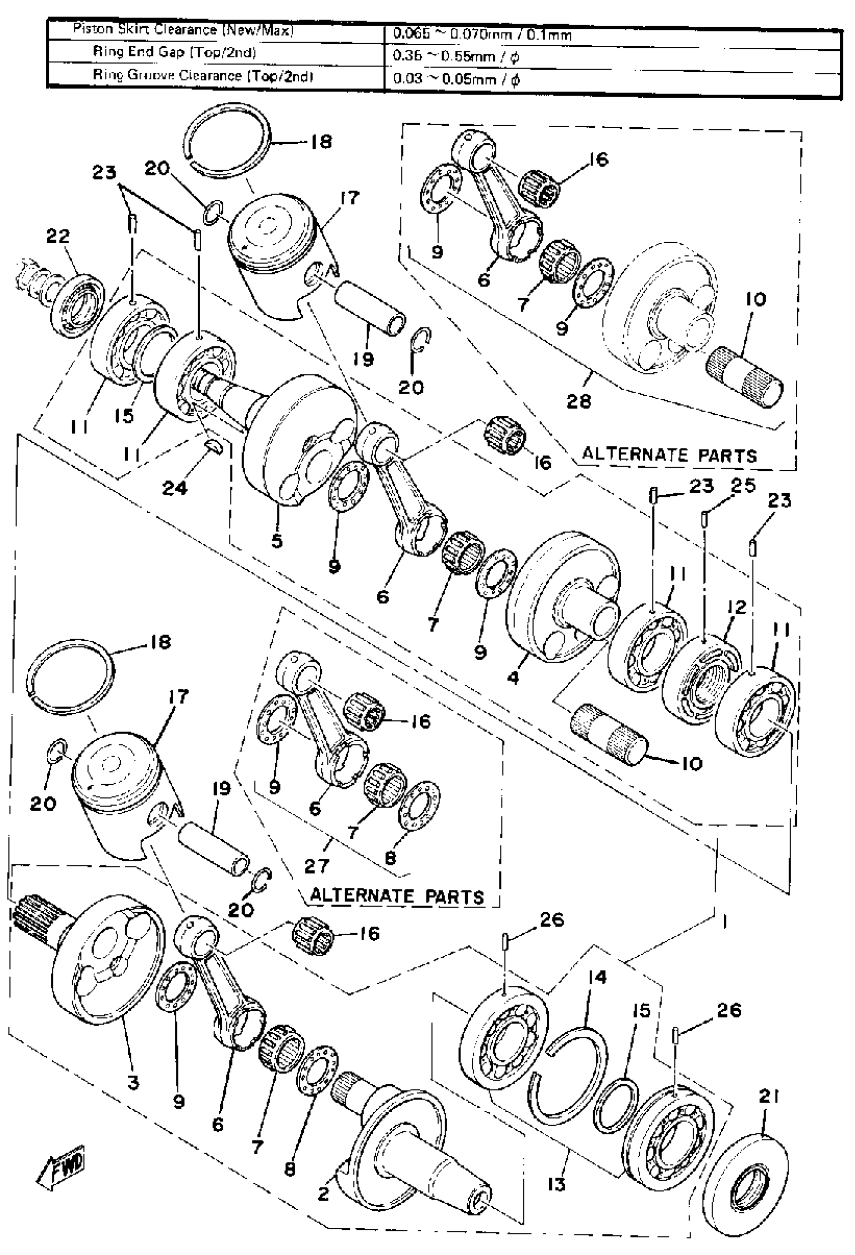
CRANK-PISTON
Yamaha SRX440C 1979 CRANK-PISTON Diagram
#
Description
Price
1
CRANKSHAFT ASSEMBLY
8J0-11400-00-00
Unavailable
2
. CRANK 1
8J0-11412-00-00
Unavailable
3
. CRANK 2
8H0-11422-00-00
Unavailable
4
. CRANK 3
8H0-11432-00-00
Unavailable
5
. CRANK 4
8G9-11442-00-00
Unavailable
6
. ROD, CONNECTING
8H0-11651-00-00
Unavailable
10
. PIN, CRANK 1
8H8-11681-00-00
Unavailable
12
SEAL, LABYRINTH 1
(8G9-11515-01-00)
Unavailable
13
. BEARING ASSEMBLY 1
8H0-11415-01-00
Unavailable
14
CIRCLIP, OUTER
93440-78011-00
Unavailable
16
BRG,CYL-CAL ROLLER 25G KY
93310-320G0-00
Unavailable
17
PISTON STD
8J0-11631-00-93
Unavailable
18
PISTON RINGSET STD
8G9-11601-00-00
Unavailable
19
PIN, PISTON
8J0-11633-00-00
Unavailable
20
CIRCLIP (8H0)
93450-21053-00
Unavailable
21
OIL SEAL (878).
93103-32095-00
Unavailable
22
OIL SEAL(83R)
93103-32156-00
Unavailable
23
PIN,DOWEL (168)
93604-12037-00
Unavailable
24
KEY, WOOD RUFF (324)
90280-05014-00
Unavailable
25
PIN, DOWEL (409)
93604-16092-00
Unavailable
26
PIN, DOWEL (8H1)
93604-07141-00
Unavailable
