- Partiron
- OEM Parts
- Yamaha
- motorcycle
- 1987
- SRX250TC (SRX250 CA) 1987
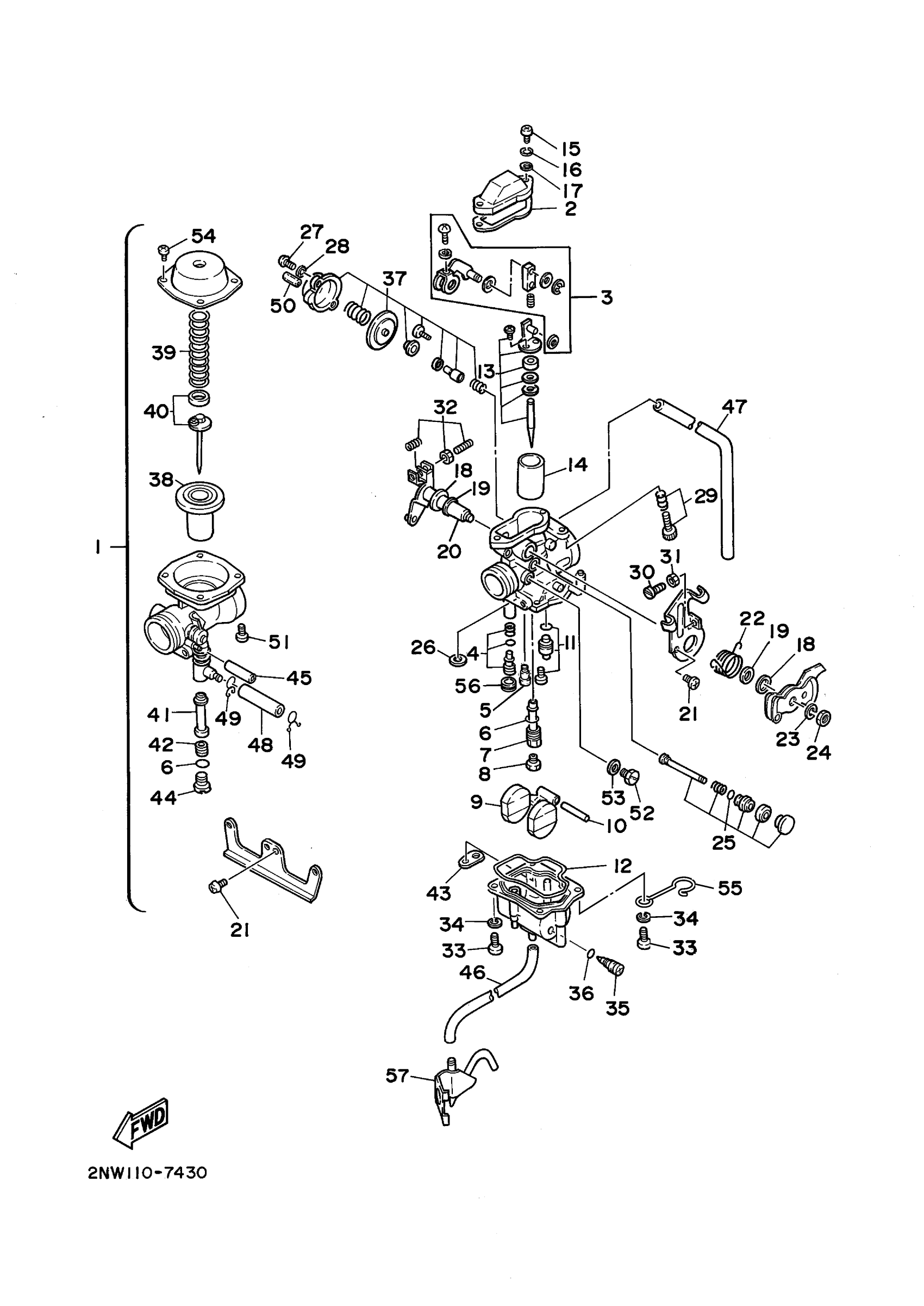
CARBURETOR SRX250TC
Yamaha SRX250TC (SRX250 CA) 1987 CARBURETOR SRX250TC Diagram
#
1
CARBURETOR ASSEMBLY 1
(2NW-14301-00-00)
Unavailable
3
BRACKET 1
1LN-14291-00-00
Unavailable
7
. NOZZLE, MAIN
51Y-14341-00-00
Unavailable
8
JET, MAIN (#122) (85L)
288-14355-61-00
Unavailable
9
FLOAT
25N-14385-00-00
Unavailable
10
. PIN, FLOAT
6E5-14386-01-00
Unavailable
13
NEEDLE SET
(2NV-1490J-10-00)
Unavailable
14
VALVE, THROTTLE 1
(51Y-14312-35-00)
Unavailable
16
YBS67-4 WASHER, SPRING
92990-04100-00
Unavailable
17
WASHER, PLAIN (646)
92990-04600-00
Unavailable
18
. WASHER, PLAIN
5Y1-14357-00-00
Unavailable
19
O-RING
5Y1-14572-00-00
Unavailable
20
. THROTTLE SHAFT ASSEMBLYASSY
2NV-14930-00-00
Unavailable
21
SCREW, PAN HEAD(62X)
97885-05010-00
Unavailable
22
. SPRING, THROTTLE VALVE
30X-14131-00-00
Unavailable
23
. WASHER, SPRING
5Y1-14356-00-00
Unavailable
24
. NUT
5Y1-14358-00-00
Unavailable
25
PLUNGER, STARTER
51Y-14371-01-00
Unavailable
26
GASKET
5Y1-14536-00-00
Unavailable
27
SCREW, PAN HEAD (E56)
98580-04010-00
Unavailable
28
YBS67-4 WASHER, SPRING
92990-04100-00
Unavailable
29
. THROTTLE SCREW SET
3WP-14103-00-00
Unavailable
30
. SCREW
30X-14216-00-00
Unavailable
31
NUT
30X-14358-00-00
Unavailable
32
. STOP SCREW SET
30X-1490K-00-00
Unavailable
33
SCREW, PAN HEAD
98511-04012-00
Unavailable
34
YBS67-4 WASHER, SPRING
92990-04100-00
Unavailable
35
PLUG, SCREW
5Y1-14115-00-00
Unavailable
36
O-RING
5Y1-14397-00-00
Unavailable
37
DIAPHRAGM SET 1
5Y1-1490A-00-00
Unavailable
38
. VALVE ASSEMBLY
30X-14340-01-00
Unavailable
39
. SPRING
30X-14286-00-00
Unavailable
40
. NEEDLE SET
2NV-1490J-00-00
Unavailable
41
NOZZLE, MAIN 2
(2NV-14355-00-00)
Unavailable
42
. JET, MAIN (#80)
30X-14343-40-00
Unavailable
43
PLATE
5Y1-14146-00-00
Unavailable
44
. VALVE, DRAIN (30X-14394-00)
1RG-14394-00-00
Unavailable
45
PIPE
5Y1-14349-00-00
Unavailable
46
PIPE (56R-14396-00-00)
2NW-14396-00-00
Unavailable
47
PIPE
(51Y-14197-00-00)
Unavailable
48
PIPE
30X-14148-00-00
Unavailable
49
CLIP
5Y1-14159-00-00
Unavailable
50
. PIPE
30X-14149-00-00
Unavailable
51
SCREW, PAN HEAD (E56)
98580-04010-00
Unavailable
52
SCREW
5H0-14991-00-00
Unavailable
53
GASKET
5H0-14126-00-00
Unavailable
54
SCREW, PAN HEAD (713)
98580-04008-00
Unavailable
55
PLATE
42U-14146-00-00
Unavailable
56
. CAP
5Y1-14118-00-00
Unavailable
57
PIPE
(2NW-14193-00-00)
Unavailable
