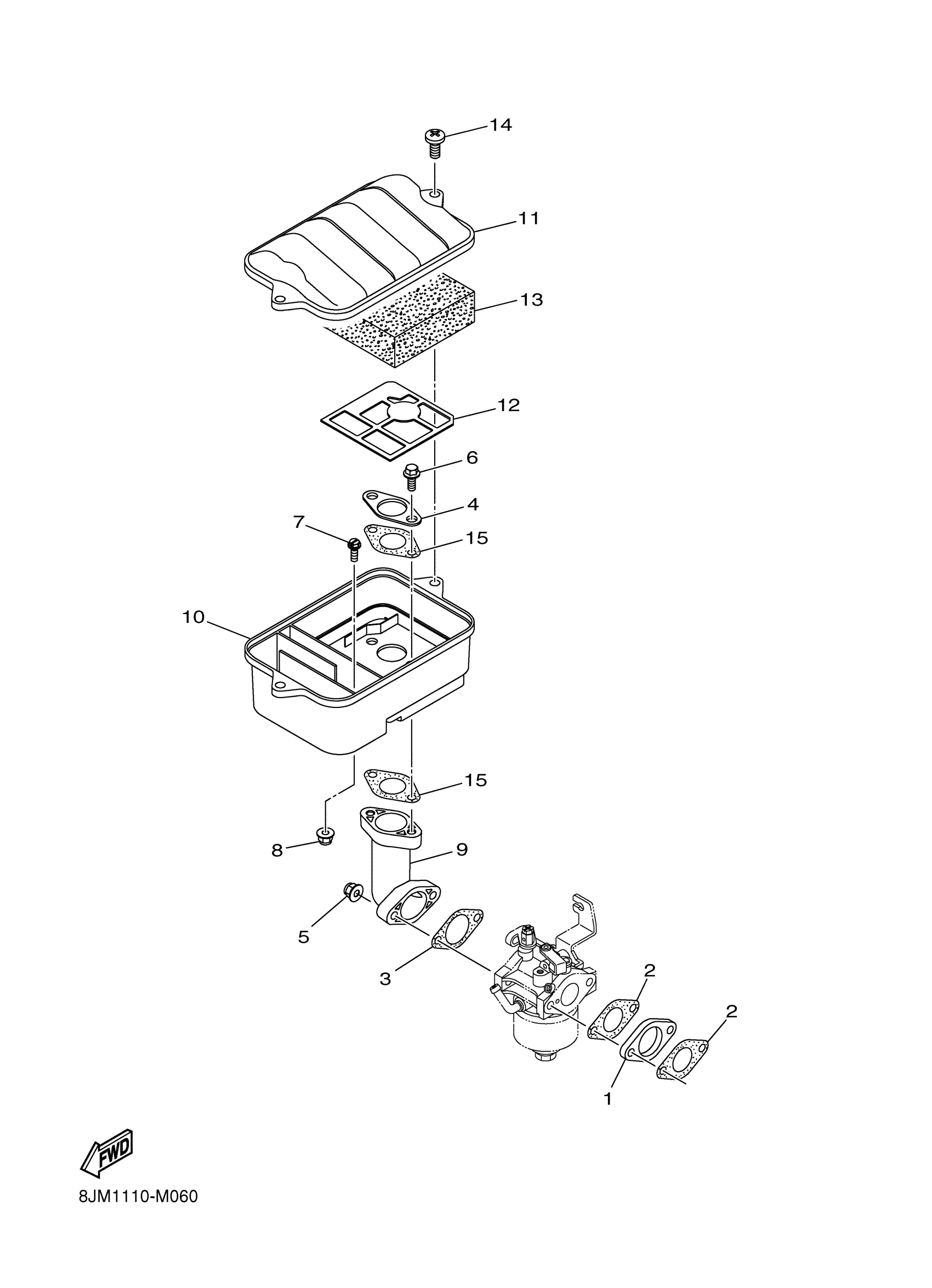
Yamaha SRX120HL (SRX120) 8JMB 2017 INTAKE Diagram
#
Description
Price
1
JOINT, CARBURETOR 2
7CL-E3596-00-00
Unavailable
4
PLATE
7CN-E4477-00-00
Unavailable
6
SCREW,PT THD-TSTRH K60-2.69X16
8JM-RA200-00-00
Unavailable
7
BOLT, FLANGE M8-1.25X25
8JM-RA102-00-00
Unavailable
9
INTAKE, TUBE
8JM-E3536-00-00
Unavailable
