- Partiron
- OEM Parts
- Yamaha
- snowmobile
- 2015
- SRX120FL (SRX120) 8JM5 2015
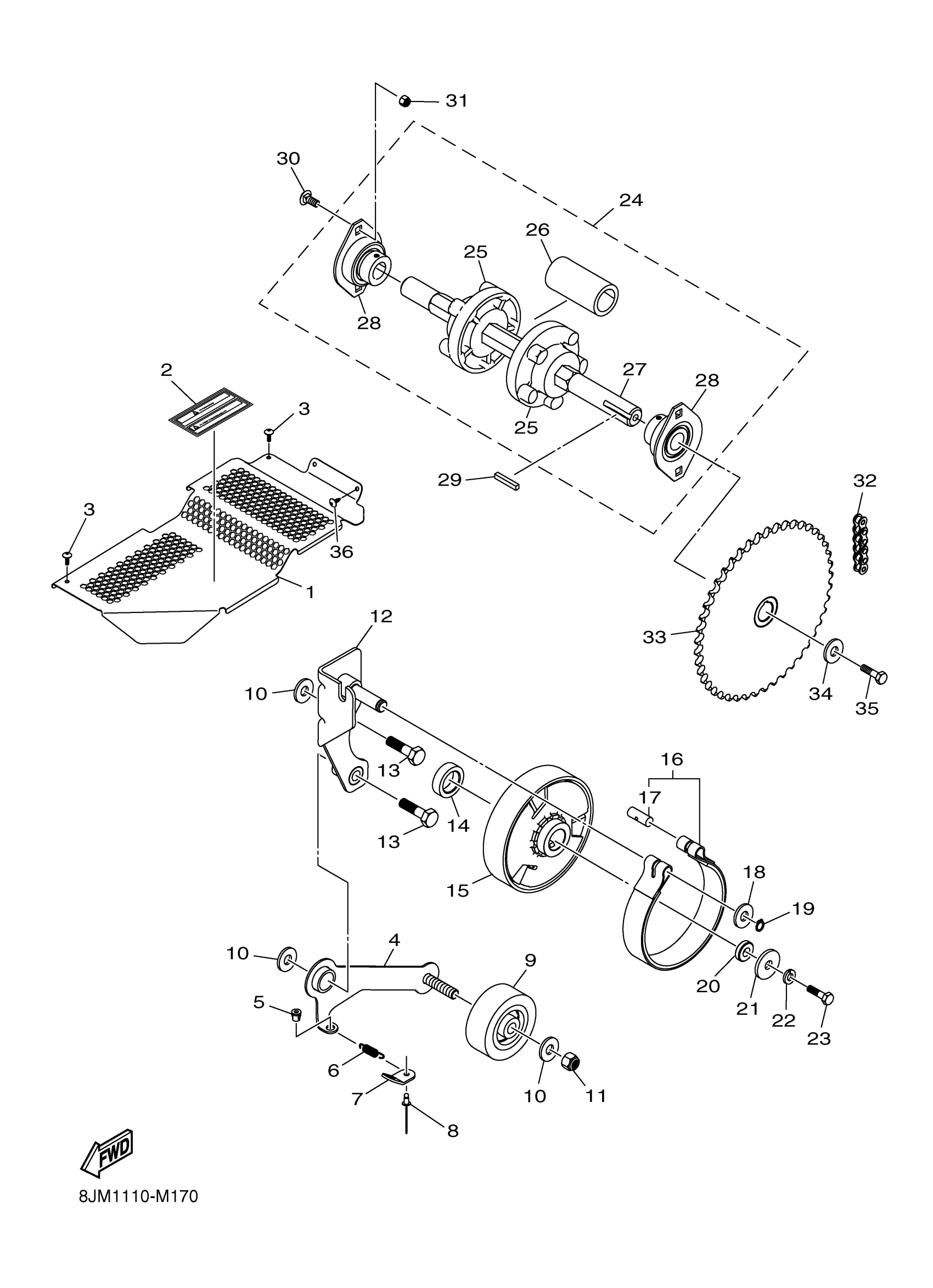
TRACK DRIVE 1
Yamaha SRX120FL (SRX120) 8JM5 2015 TRACK DRIVE 1 Diagram
#
1
SHIELD,CLUTCH/BRAKE/MUFFLER-BK
8JM-K7311-01-00
Unavailable
2
LABEL, WARNING 2
8JM-K7762-00-00
Unavailable
4
HOLDER
8JM-G7613-00-00
Unavailable
5
BUSHING, SNAP
8JM-G7538-00-00
Unavailable
8
RIVET, 5
8JP-RA514-00-00
Unavailable
10
WASHER,FLAT-5/16X.688X.065 Z&Y
8JM-RA403-00-00
Unavailable
11
NUT,HEX THIN LOCK-NYL 5/16-18
8JM-RA302-00-00
Unavailable
12
BRACKET, BRAKE PTD BLK
8JM-F5676-00-00
Unavailable
13
BOLT, HEXAGON 5/16-24X1.5
8JM-RA114-00-00
Unavailable
14
SPACER, CLUTCH - INNER
8JM-RA700-00-00
Unavailable
15
CLUTCH, CENTRIFUGAL
8JM-E760P-10-00
Unavailable
16
BAND,BRAKE
8JM-F5719-00-00
Unavailable
17
. PIN, 1
8JM-RAY00-00-00
Unavailable
18
WASHER,FLAT-3/8X1.000X.063 Z&Y
8JM-RA405-00-00
Unavailable
19
CIRCLIP, 1
8JM-RAH00-00-00
Unavailable
20
COLLAR, 34
8JM-RA701-00-00
Unavailable
21
WSHR, .343X1 1/8X.120TH Z&Y
8JM-RA401-00-00
Unavailable
22
WSHR,SP LK-5/16 .314X.583X.078
8JM-RA402-00-00
Unavailable
23
SCREW,CAP-HH 5/16-24X1.00 G5
8JM-RA103-00-00
Unavailable
24
FRONT AXLE SUB-ASSY
8JM-G7501-00-00
Unavailable
25
. WHEEL, SPROCKET 1
8JM-G7531-00-00
Unavailable
26
COLLAR
8JM-RA705-10-00
Unavailable
27
SHAFT, DRIVE SPROCKET-F 120
8JM-G7511-00-00
Unavailable
28
. BEARING, 1
8JM-RAY01-00-00
Unavailable
29
KEY, DRIVE
8JM-G7733-00-00
Unavailable
30
BOLT, 5/16-18X0.75
8JM-RA123-00-00
Unavailable
31
NUT,HEX FLG-NY LOCK 5/16-18 GR
8JM-RA303-00-00
Unavailable
32
CHAIN, ROLLER - DRIVE
8JM-E6139-00-00
Unavailable
33
SPROCKET, CHAIN DR
8JM-G7587-20-00
Unavailable
34
WASHER,FLAT 21/64 X 1-1/2X
8JM-RA404-00-00
Unavailable
35
SCREW, CAP-HH 5/16-18X.875
8JM-RA112-10-00
Unavailable
36
SCREW, 10-12X3/4
8KC-RA290-00-00
Unavailable
