- Partiron
- OEM Parts
- Yamaha
- snowmobile
- 2013
- SRX120DL (SRX120) 8JM1 2013
TRACK SUSPENSION 2
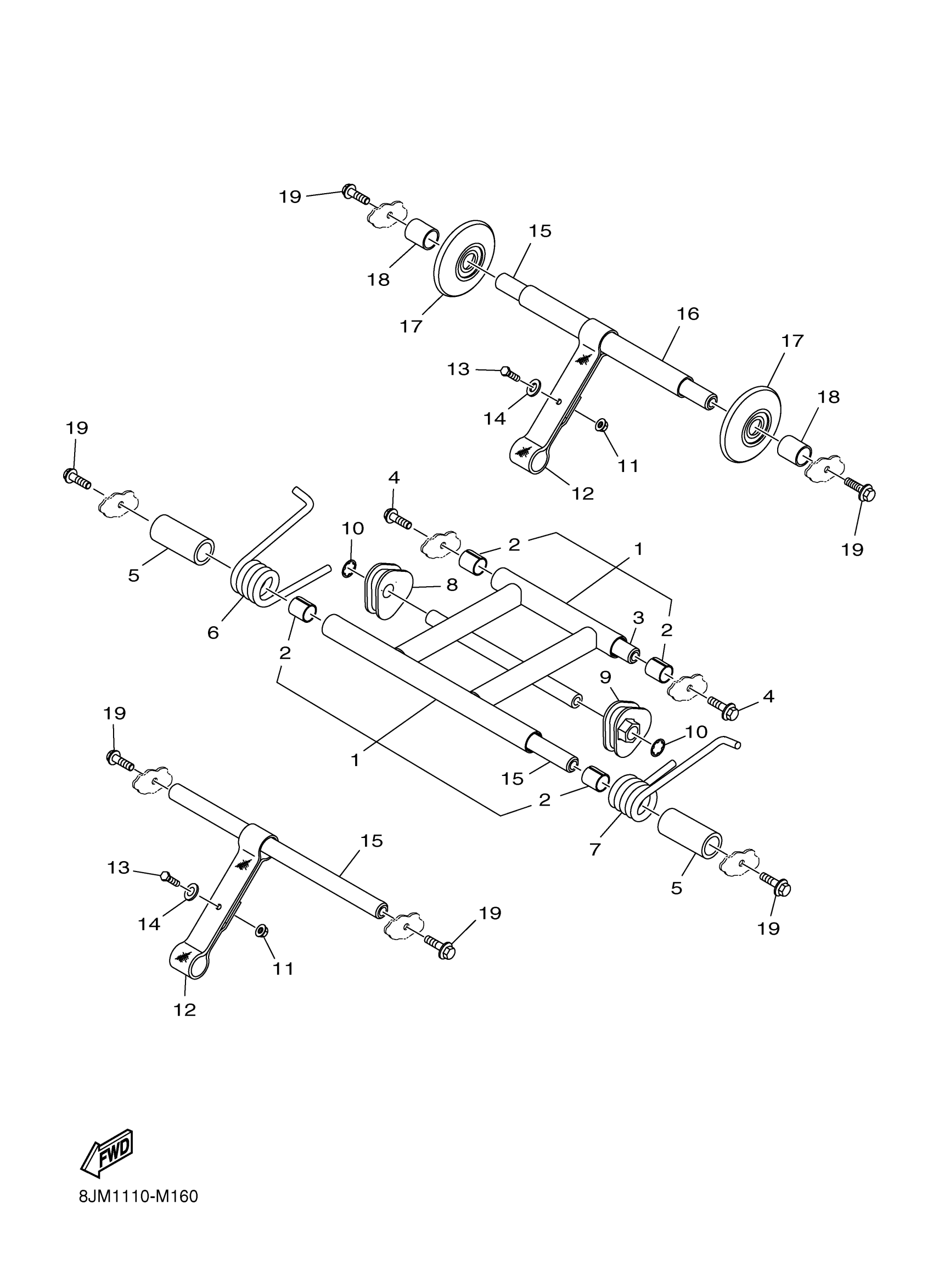
Yamaha SRX120DL (SRX120) 8JM1 2013 TRACK SUSPENSION 2 Diagram
#
Description
Price
5
COLLAR, 22
8JM-RA707-00-00
Unavailable
7
SPRING, REAR 1
8JM-G7473-00-00
Unavailable
8
BLOCK, SPRING-ADJUSTER-RH
8JM-G7448-00-00
Unavailable
9
BLOCK, SPRING-ADJUSTER-LH
8JM-G7447-00-00
Unavailable
12
STRAP, LIMITER
8JM-G7495-00-00
Unavailable
15
AXLE, IDLER
8JM-G7465-00-00
Unavailable
16
COLLAR, 17
8JM-RA708-00-00
Unavailable
17
WHEEL, REAR IDLER
8JM-G7310-00-00
Unavailable
18
COLLAR, 17
8JM-RA709-00-00
Unavailable
19
SCREW-CAP-HFH 5/16-18 X0.875 G
8JM-RA117-00-00
Unavailable
